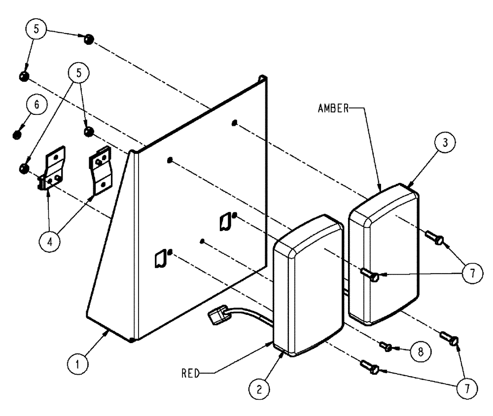
Запчасти Case IH 810 (05-004) - TAILLIGHT ASSEMBLY, RIGHT REAR Extensions & Mount Group

Схема запчастей Case IH 810 - (05-004) - TAILLIGHT ASSEMBLY, RIGHT REAR Extensions & Mount Group
2
1
8
5
7
7
4
5
3
6
FIT
1:1
100%

Артикул

Название

Примечание

Количество

1

343771A1

BRACKET, SUPPORTING

MOUNT, TAIL LIGHT, FLEX

1шт.

2

BN325077

LAMP, TAIL

LIGHT, TAIL Led Red, 12V, 36 LED Pattern, BSN YBT029439

1шт.

2

84385294

LAMP

LED Red, 12V, 24 LED Pattern, ASN YBT029439

1шт.

3

BN325078

LIGHT

Turn, Led Amber, 12V, 36 LED Pattern, BSN YBT029439

1шт.

3

84385299

LAMP

Turn, LED Amber, 12V, 24 LED Pattern, ASN YBT029439

1шт.

4

87267087

RETAINER

Assembly, Deutsch LH

2шт.

5

353308

NUT,M6 x 1.0, Cl 8

4шт.

6

BN50050

NUT

10-32 HEX

1шт.

7

120100

BOLT,M6 x 20mm, Cl 8.8

4шт.

8

BN52348

BOLT,Phil Pan Hd, #10 - 32 x 1/2", Stainless

10-32 X 1/2 SS PH, PHILLIP

1шт.

Выбрано товаров: 10