Запчасти Case IH 810 (07-013[01]) - VALVE BLOCK, DOUBLE BIN, W/AUGER Hydraulic Components

Схема запчастей Case IH 810 - (07-013[01]) - VALVE BLOCK, DOUBLE BIN, W/AUGER Hydraulic Components
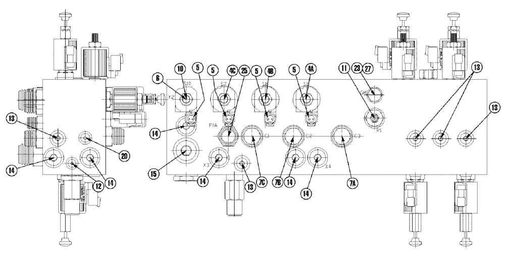
14
5
14
10
14
7c
13
7b
23
5
27
14
4b
11
4c
15
7a
6
14
12
5
13
14
4a
25
13
20
13
5
FIT
1:1
100%

Артикул

Название

Примечание

Количество

1

NS

NOT SERVICED

Block

1шт.

2

BN303849

SOLENOID VALVE

2/3 WAY

4шт.

3

87267935

COIL

12V, DC

4шт.

4

BN303851

SOLENOID VALVE

2/2 WAY

3шт.

5

87267925

COIL,12V

12V DC

4шт.

6

BN303853

HYDRAULIC VALVE

2/2 WAY, UNLOADER

1шт.

7

BN324995

CHECK VALVE

30 PSI

3шт.

8

BN303855

VALVE PRESSURE RELIE

2700 PSI

1шт.

9

BN303857

HYDRAULIC VALVE

FLOW CONTROL

1шт.

10

BN303859

PLUG

ORFICE, .242"

1шт.

11

87266994

VALVE PRESSURE RELIE

2175 psi

1шт.

12

86529630

PLUG,Hex Soc, 3/8"-24 ORB

8шт.

13

9625178

PLUG,9/16" - 18 ORB

12шт.

14

86625138

PLUG,7/18" - 14

17шт.

15

9841223

PLUG,1-1/16" - 12 ORB

3шт.

16

BN303865

PLUG

ORFICE, .020"

1шт.

17

87270622

HYDRAULIC VALVE

Prop Flow Control, Start Serial: 6711

2шт.

17a

87270622

HYDRAULIC VALVE

Prop Flow Control

2шт.

Indicates Old Part Number or Can Order Newer Part Number Listed above

1шт.

18

BN303867

PLUG

CAVITY

1шт.

19

71100209

PLUG,Hex Soc, 3/4"-16 ORB

3шт.

20

87649288

PLUG

ORB, SOC HD 7/16-20

1шт.

22

87267936

COIL

12V, DC

2шт.

23

BN302646

FITTING

11/16-16 ORFS x 9/16-18 ORB

2шт.

23a

87267741

HYDRAULIC VALVE

Manifold, Double, With Fittings

1шт.

See Above

1шт.

24

BN302650

FITTING

8 MOR-8 MB

3шт.

25

BN302655

FITTING

12 MOR-12 MB

3шт.

26

BN57233

FITTING

12 MOR-16 MB

1шт.

28

BN57223

FITTING

16 MOR-16 MB

1шт.

Выбрано товаров: 30