Запчасти Case IH 810 (01-010) - VALVE, AIR, 4-WAY 6" & 8" AUGER Basic Unit

Схема запчастей Case IH 810 - (01-010) - VALVE, AIR, 4-WAY 6" & 8" AUGER Basic Unit
4
1
3
2
FIT
1:1
100%

Артикул

Название

Примечание

Количество

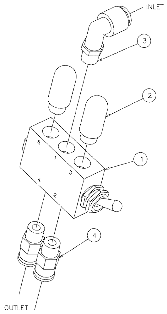
1

87270333

PNEUMATIC VALVE

AIR, 4W/2P TOGGLE

1шт.

2

BN23041

MUFFLER

Air Valve 1/8" NPT

2шт.

3

BN2399420

HYD CONNECTOR

TUBE ELBOW SMC

1шт.

4

BN2399440

HYD CONNECTOR

TUBE, 1/4 X 1/8

2шт.

Выбрано товаров: 4