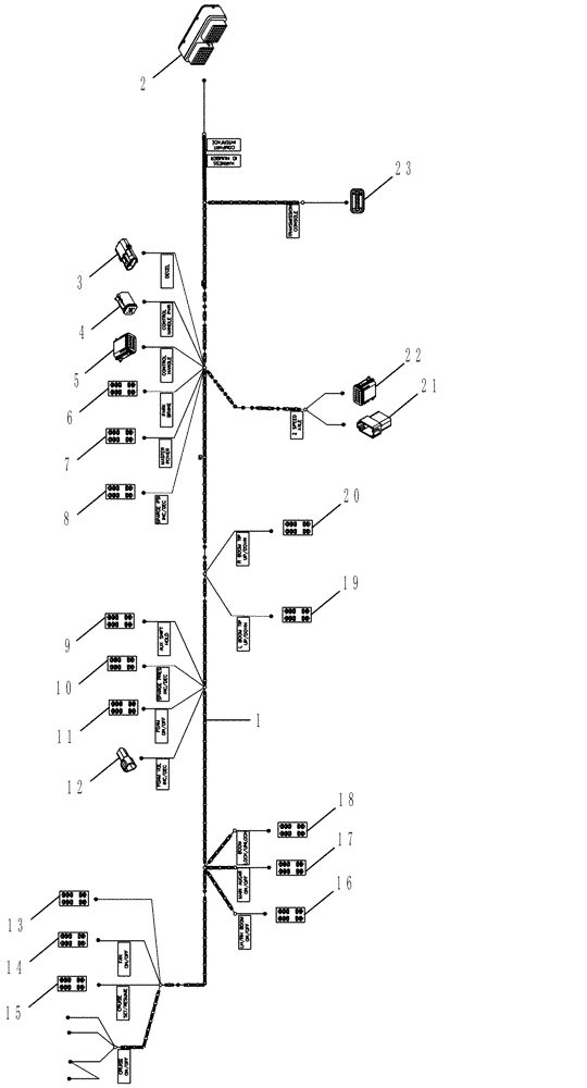
Запчасти Case IH 810 (13-007[02]) - HARNESS, RH CONSOLE, 5000 (06) - ELECTRICAL

Схема запчастей Case IH 810 - (13-007[02]) - HARNESS, RH CONSOLE, 5000 (06) - ELECTRICAL
5
4
3
1
15
22
23
12
7
2
19
9
18
8
10
13
11
16
6
20
14
21
17
FIT
1:1
100%

Артикул

Название

Примечание

Количество

1

87703257

WIRE HARNESS

RH Console, 5000

1шт.

2

87707115

CONTACT HOUSING,Female, 70 Pole

Compartment Interface, P128

1шт.

2a

87271606

BOOT

1шт.

3

87692858

ELEC CONNECTOR,Male

De- Acel, J130

1шт.

4

87694112

ELEC CONNECTOR,Female, 6 Pole

Control Handle Power, P100

1шт.

4a

87694150

LOCKING TAB,Wedge Lock

1шт.

5

87695592

CONTACT HOUSING,Female, 12 Pole

Control Handle I/O, P101

1шт.

5a

87695651

LOCKING TAB,Wedge Lock

1шт.

6

BN310610

ELEC CONNECTOR,Female, 10 Pin

Park Brake, J122

1шт.

7

BN310610

ELEC CONNECTOR,Female, 10 Pin

Master Power, J121

1шт.

8

BN310610

ELEC CONNECTOR,Female, 10 Pin

Sparge PSI Inc/Dec, J120

1шт.

9

BN310610

ELEC CONNECTOR,Female, 10 Pin

Aux Shift Hold, J116

1шт.

10

BN310610

ELEC CONNECTOR,Female, 10 Pin

Sparge Pressure Inc/Dec, J115

1шт.

11

BN310610

ELEC CONNECTOR,Female, 10 Pin

Foam Marker On/Off, J114

1шт.

12

87695723

ELEC CONNECTOR,Male , 3 Pole

Foam Volume Inc/Dec, J113

1шт.

12a

87695625

WIRE CONNECTOR,Locking, Green

1шт.

13

BN310610

ELEC CONNECTOR,Female, 10 Pin

Fan Inc/Dec, J105

1шт.

14

BN310610

ELEC CONNECTOR,Female, 10 Pin

Fan On/Off, J104

1шт.

15

BN310610

ELEC CONNECTOR,Female, 10 Pin

Cruise Set/Resume, J103

1шт.

16

BN310610

ELEC CONNECTOR,Female, 10 Pin

LH/RH Boom On/Off, J106

1шт.

17

BN310610

ELEC CONNECTOR,Female, 10 Pin

Main Auger On/Off, J111

1шт.

18

BN310610

ELEC CONNECTOR,Female, 10 Pin

Boom Lock/Unlock, J112

1шт.

19

BN310610

ELEC CONNECTOR,Female, 10 Pin

LH Boom Tip Up/Down, J117

1шт.

20

BN310610

ELEC CONNECTOR,Female, 10 Pin

RH Boom Tip Up/Down, J119

1шт.

21

87695724

ELEC CONNECTOR,Male, 12 Pole

2 Speed Axle, J127

1шт.

21a

87698541

LOCKING TAB,Wedge Lock, 12-Pin

1шт.

22

87695592

CONTACT HOUSING,Female, 12 Pole

2 Speed Axle, J126

1шт.

22a

87695651

LOCKING TAB,Wedge Lock

1шт.

23

87271908

ELEC CONNECTOR

ELEC CONNECTOR, Transmission Shifter, P905

1шт.

23a

87271909

SEAL

1шт.

23b

87271910

WEDGE

1шт.

23c

87271911

PLUG

9шт.

23d

87271912

WEDGE

1шт.

23e

87271913

WEDGE

1шт.

Выбрано товаров: 34