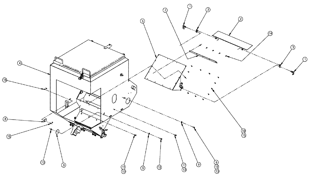
Запчасти Case IH 810 (02-024) - BIN GROUP, DOUBLE BIN, RH, 50 CU. FT. Bin Group

Схема запчастей Case IH 810 - (02-024) - BIN GROUP, DOUBLE BIN, RH, 50 CU. FT. Bin Group
13
10
13
13
2
5
10
7
8
9
3
9
15
6
12
1
15
11
14
13
6
4
1
12
11
3
FIT
1:1
100%

Артикул

Название

Примечание

Количество

1

342478A1

LATCH

Swell

2шт.

2

BN308146

COVER

COAP, LOWER

1шт.

3

BN308147

PIN

LOWER COVER PIVOT

2шт.

4

87266478

CONTAINER

Bin, RH Co-Ap-(50)

1шт.

See Fig. 02-030

1шт.

5

BN310861

COVER

SUPPORT, RH

1шт.

6

BN310862

WASHER

COAP, BIN

2шт.

7

BN310863

STRAP

FORMED, COAP COVER

1шт.

8

BN35859

COVER

Shaft Hole, Co-Ap Bin

4шт.

9

BN50146

WASHER,3/8", Stainless

2шт.

10

BN50212

BOLT,1/4"-20 x 3/4", Stainless Steel

22шт.

11

BN50250

BOLT,3/8"-16 x 3/4", Stainless Steel

2шт.

12

BN50254

BOLT,3/8"-16 x 1", Stainless

2шт.

13

BN50759

LOCK NUT,3/8"-16, Nylon, Stainless

4шт.

14

87270117

SELF-TAP SCREW,Hex Socket, 1/4" - 20 x 1/2"

1/4-20 X .5, HSH, STP, SS

5шт.

15

BN55359

LOCK NUT,1/4"-20, SS

22шт.

Выбрано товаров: 16