Запчасти Case IH 810 (55.404.01) - METERING/CO-AP LIGHT ASSEMBLY (55) - ELECTRICAL SYSTEMS

Схема запчастей Case IH 810 - (55.404.01) - METERING/CO-AP LIGHT ASSEMBLY (55) - ELECTRICAL SYSTEMS
2
3
6
1
4
home
5
FIT
1:1
100%

Артикул

Название

Примечание

Количество

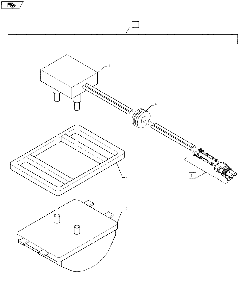
1

BN310648

LIGHT

Metering Frame and Co-Ap Boxes, Complete, Includes Ref 2 -6

1шт.

2

BN310671

LAMP

Clear, Sealed

1шт.

3

BN310672

GROMMET

Snap Lock

1шт.

4

BN310673

WIRE HARNESS

6" Long, Does Not Include Ref 4

1шт.

5

87692855

CONTACT HOUSING,Male, 2 Cavities

Co-Ap Box Light

1шт.

5

225123C1

TERMINAL CONNECTOR,Tin, 0.8mm

Co-Ap Box Light

2шт.

5

BN16056

SEAL

Co-Ap Box Light

2шт.

6

BN54139

GROMMET

Rubber, 1/4" ID x 1" OD

1шт.

Выбрано товаров: 8