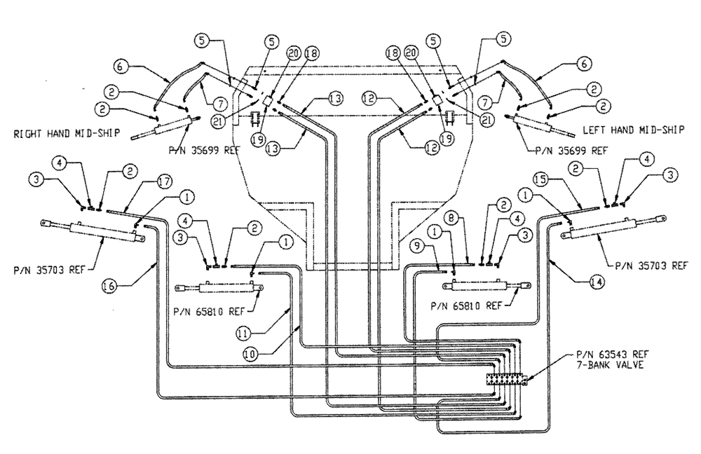
Запчасти Case IH FLEX-AIR (06-001) - BOOM HYD GROUP Hydraulic Plumbing

Схема запчастей Case IH FLEX-AIR - (06-001) - BOOM HYD GROUP Hydraulic Plumbing
21
9
6
1
20
3
3
2
3
2
1
13
5
7
2
12
2
12
3
7
18
2
4
2
5
20
15
21
5
10
18
4
2
13
14
4
19
4
16
5
8
1
17
2
19
1
11
6
FIT
1:1
100%

Артикул

Название

Примечание

Количество

1

BN21401

ELBOW,90 Degree 3/8" NPT x 7/16"-20 JIC

4шт.

2

BN22158

ADAPTER,3/8" NPT X 7/16"-20, 37 Degree

8шт.

3

BN51123

ADAPTER

90º, 3/8-18 NPT

4шт.

4

BN53856

HYDRAULIC VALVE

Needle - 3/8 - NPT Port

4шт.

5

BN55117

FITTING

BH, #6 JIC - #6 JLC

4шт.

6

BN55254

HOSE

1/4 X 40, 4 JIC - 6 JIC

2шт.

7

BN55255

HOSE

1/4 X 27.5, 4 JIC - 6 JIC

2шт.

8

BN66703

HOSE

1/4 X 48, 4 JIC - 6 JIC

1шт.

9

BN66704

HOSE

1/4 X 40, 4 JIC - 6 JIC

1шт.

10

BN66701

HOSE

1/4 X 94.4 - 6 JIC

1шт.

11

BN66702

HOSE

1/4 X 80, 4 JIC - 6 JIC

1шт.

12

BN55293

HOSE

1/4 X 182, 6 JIC - 6 JIC

2шт.

13

BN55294

HOSE

1/4 X 200, 6 JIC - 6 JIC

2шт.

14

BN55295

HOSE

1/4 X 234, 4 JIC - 6 JIC

1шт.

15

BN55296

HOSE

1/4 X 252, 4 J1C - 6 JIC

1шт.

16

BN55297

HOSE

1/4 X 255, 4 JIC - 6 JIC

1шт.

17

BN55298

HOSE

1/4 X 274, 4 J1C - 6 J1C

1шт.

18

BN444002

ADAPTER

6 ORB - 16 JIC

4шт.

19

BN66796

BLOCK

Relief Boom Lift

2шт.

20

BN98227

VALVE

Check, 30 LB Waterman

2шт.

21

BN98019

O-RING

SAE - 6 Buna N

4шт.

Выбрано товаров: 21