Запчасти Case IH FLEX-AIR (06-004) - CONVEYOR FITTING GROUP Hydraulic Plumbing

Схема запчастей Case IH FLEX-AIR - (06-004) - CONVEYOR FITTING GROUP Hydraulic Plumbing
6
1
12
2
13
4
8
11
14
7
5
1
7
10
2
7
4
3
9
FIT
1:1
100%

Артикул

Название

Примечание

Количество

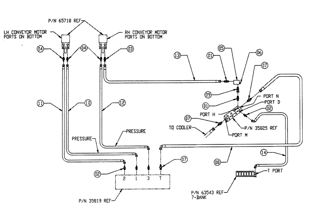
1

BN444001

FITTING

37 Flare 12 - 12

2шт.

2

BN444004

FITTING

O-Ring 37 Flare

4шт.

3

BN444007

O-RING

37 Flare 12-10

1шт.

4

BN444008

FITTING

Adapter - 37° Flare 10 - 08

3шт.

5

BN35823

VALVE PRESSURE RELIE

Charge, Loop Flush

1шт.

6

BN35824

CARTRIDGE

Charge Relief

1шт.

7

BN51590

FITTING

Adapter, Straight, 37 FLR x 1.31 OR

3шт.

8

BN66695

HOSE

1 X 60, 16 JIC - 16 JIC

1шт.

9

BN57224

FITTING

Adapter, 1-1/16-12 OR, JIC

2шт.

10

BN55263

HOSE

1/2 X 52, 08 JIC - 08 JIC

1шт.

11

BN55264

1/2 X 52, 8 JIC - 8 JIC

1шт.

12

BN55265

HOSE

1/2 X 99, 8 JIC - 8 JIC

1шт.

13

BN55266

HOSE

3/4 X 56, 12 JIC - 12 JIC

1шт.

14

BN55288

HOSE

1/2 X 81, 8 JIC - 8 JIC

1шт.

Выбрано товаров: 14