Качественные детали и логистика
Оригинальные и аналоговые запчасти с доставкой по России, Казахстану и Беларуси
©2022 PartSell ООО "Система" ИНН 2463123282 ОГРН 1212400004838
Центральный офис: г. Красноярск, Академика Киренского, д.87, пом.4
Телефон: 8 (800) 777-65-74 Email: zakaz@partsell.ru
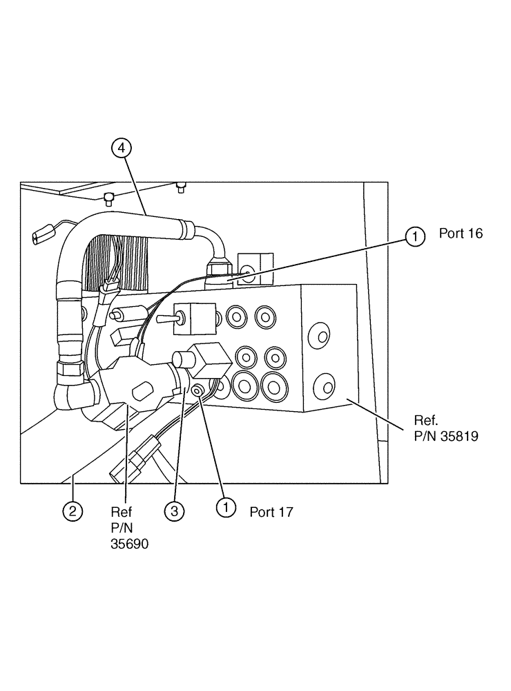
(06-005) - VALVE BOX
№
Артикул
Название
Примечание
Количество
1
BN21417
FITTING,1 5/16"-12 O-Ring x 1 1/16"-12, 37 Degree
2шт.
2
BN445001
FITTING
Adapter, 90°1 1/16-12 O Ring x 1 1/16-12 JIC
1шт.
3
BN57224
1-1/16 - 12 OR, JIC
4
BN55256
3/4 X 16, 12 JIC - 12 JIC
Выбрано товаров: 0