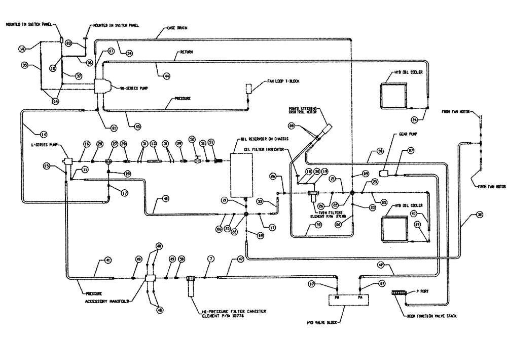
Запчасти Case IH FLEX-AIR (06-013) - FITTING GROUP, TITAN 4 WL, REAR Hydraulic Plumbing

Схема запчастей Case IH FLEX-AIR - (06-013) - FITTING GROUP, TITAN 4 WL, REAR Hydraulic Plumbing
39
52
49
34
38
1
25
30
36
8
45
49
16
19
4
15
33
22
27
23
48
9
5
17
21
7
28
53
22
21
41
32
11
26
43
7
18
49
19
24
26
47
13
29
40
14
58
6
42
6
35
12
24
29
17
7
50
7
32
7
23
20
29
30
37
44
FIT
1:1
100%

Артикул

Название

Примечание

Количество

1

BN52337

FITTING

90, OR - 37 Flare

1шт.

2

BN55325

ADAPTER

1 1/4" NPT x 1 5/8"-12 JIC

1шт.

3

BN21424

ADAPTER

Female, PI, 37º, Flare

1шт.

4

BN22160

ELBOW

90° 9/16-18 O-Ring X 7/16-20 JIC

2шт.

5

BN441004

FITTING

Pipe 37 Flare

1шт.

6

BN441006

ADAPTER

1/2 NPT-8 JIC

2шт.

7

BN444001

FITTING

Adapter - 37 Flare 12 - 12

5шт.

8

BN444004

FITTING

O-Ring 37 Flare

2шт.

9

BN51531

1 &1/4 NPTF x 12 JIC

2шт.

10

BN51591

ELBOW

90° - O-Ring 37 FL 7/16

1шт.

11

BN53594

FITTING

Adaptor, 90 D, OR x 3 7JIC

1шт.

12

BN55219

ADAPTER

T, 40 RB - 4 JIC - 4 JIC

1шт.

13,

BN55310

2 X 64

1шт.

14

BN54289

HOSE

1.25 X 50, 20 JIC-2

1шт.

15

BN55313

ADAPTER

200 RBP - 12 JIC

1шт.

16

BN55324

ADAPTER

1.25 NPT M - 20 ORB M

1шт.

17

BN55325

ADAPTER

1 1/4" NPT x 1 5/8"-12 JIC

1шт.

18

BN72027

1/8 X 90 Degree BI

1шт.

19

BN72028

ELBOW

1/8 x 90º street

1шт.

20

BN72033

Nipple, 1/8" NPT x 4.0

1шт.

21

BN72330

LUBE NIPPLE

LUBRICATOR 1&1/4 NPT Close BI

2шт.

22

BN72343

FITTING

Cross, 1-1/4" NPT

2шт.

23

BN72348

1&1/4 X 1/2 Black

2шт.

24

BN55350

ADAPTER

16 JIC, Female Swivel 90

2шт.

25

BN72350

BR, 1&1/4 X 1 (11-1/2)

1шт.

26

BN72411

Bush-Red 1&1/2" X 1&1/4

2шт.

27

BN72461

TEE

2 In Black

1шт.

28

BN72470

FITTING

BR, 2 X 1&1/4 (11-1/2)

1шт.

29

BN72473

HOSE

Barb - 2" NPT x 2" Hose ID

2шт.

31

BN76020

HOSE CLAMP

1 & 1/2 - 2 Hose SS

4шт.

32

BN67175

HOSE

3/4 X 227, 12 JIC-12 JIC

1шт.

33

BN55241

HOSE

1.25 X 23, 20 JIC - 20 JIC

1шт.

34

BN55242

3/4 X 170, 12 JIC - 12 JIC

1шт.

35

BN55268

HOSE

1/4 X 148, 4 JIC - 4 JIC

1шт.

36

BN55269

HOSE

1/4 X 18, 4 JIC - 4 JIC

1шт.

37

BN55270

1/4 X 148, 4 JIC - 4 JIC

1шт.

38

BN67176

HOSE

1/2 X 336, 8 JIC-8 JIC

1шт.

39

BN55299

HOSE

1/2 X 102, 8 JIC - 8 JIC

1шт.

40

BN55312

HOSE

1/2 X 108, 8 JIC - 8 JIC

1шт.

41

BN55375

3/4 X 114, 12 JIC - 12 JIC

1шт.

42

BN67178

HOSE

3/4 X 259, 12 JIC-12 JIC

1шт.

43

BN67179

HOSE

1 X 230, 16 JIC-16 JIC

1шт.

44

BN67180

1 X 306, 16 JIC - 16 Split F

1шт.

45

BN67181

hose, 1 X 295, 16 JIC - 16 Split F

1шт.

46

BN72470

FITTING

2 X 1&1/4 (11-1/2)

1шт.

47

BN67531

HOSE

3/4 X 148, 12 JIC - 12 JIC

1шт.

48

BN21243

PLUG

Hex, 7/8"-14, O-Ring

4шт.

49

BN21417

FITTING,1 5/16"-12 O-Ring x 1 1/16"-12, 37 Degree

2шт.

50

BN57224

FITTING

Adaptor, 1-1/16 - 12 OR, JIC

1шт.

51

BN72450

LUBE NIPPLE

LUBRICATOR 2 X close BI

1шт.

52

BN2201123

Gate 2" 125 LB

1шт.

53

BN25877

FILTER STRAINER

In-Line 50 GPM 100 Mesh

1шт.

Выбрано товаров: 52