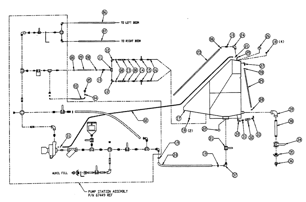
Запчасти Case IH FLEX-AIR (12-008) - PLUMBING, WET KIT, 4 WL, REAR Wet Kit

Схема запчастей Case IH FLEX-AIR - (12-008) - PLUMBING, WET KIT, 4 WL, REAR Wet Kit
1
32
14
8
30
4
9
37
24
19
2
23
20
6
18
26
16
31
15
13
17
28
39
29
21
12
10
1
36
7
27
18
34
3
38
10
25
8
6
28
12
22
33
8
5
19
35
FIT
1:1
100%

Артикул

Название

Примечание

Количество

1

BN76094

HOSE CLAMP

SS #M4

2шт.

2

BN67566

1/4" EPDM X 165"

1шт.

3

BN29999

HOSE

3/8" id EPDM x 260"

1шт.

4

BN53733

ADAPTER

1 /4" NPT x 9/16" JIC

1шт.

5

BN98104

ELECTRICAL GAUGE

160 PSI Panel Mount

1шт.

6

BN67565

HOSE

1" EPDM x 350.00"

1шт.

7

BN67564

1" EPDM X 390.00"

1шт.

8

BN75990

HOSE CLAMP

#16, Stainless Steel

7шт.

9

BN53744

FLEXIBLE HOSE,1.00" ID x 65.00"

1шт.

10

BN53476

FITTING,1" Male NPT x 1" Hose Barb, Poly

1" NPT x 1" Hose Barb, Poly

2шт.

11

BN73629

TEE

1" Poly Pipe

1шт.

12

BN53475

ELBOW,90 Degree Elbow, 1" Male NPT x 1" Hose Barb, Poly

1" NPT x 1" Hose Barb, Poly

2шт.

13

BN53871

1" EPDM X 18.0"

2шт.

14

BN73569

FITTING

Hose Barb 3/4 NPT X 1 Hose

2шт.

15

BN73564

VALVE

3/4" Ball Poly 2 Way

2шт.

16

BN53671

AGITATOR

2шт.

17

BN65758

Tank, Wet Kit, Flex-Air

1шт.

18

BN73644

Plug - 1" NPT Nylon

6шт.

19

BN76056

HOSE CLAMP

#36

2шт.

20

BN53839

HOSE

1.5" X 29.00" EPDM

1шт.

21

BN73711

VALVE,1-1/2" NPT x 1-1/2" NPT

1 1/2" Ball

1шт.

22

BN73606

CAP

1" NPT, Poly Pipe

1шт.

23

BN66854

HOSE

1" EPDM x 135.00"

1шт.

24

BN73742

ELBOW

90º x 1 Poly

1шт.

25

BN73412

ELBOW,90 Degree,1/4" MPT x 1/4" HB

1/4" NPT x 1/4" Hose Barb, Poly

1шт.

26

BN22353

PLUG

3" NPT PVC

1шт.

27

BN73562

FITTING,3/4" Male Thread x 3/4" 90 Degree Hose Barb

3/4" NPT x 3/4" Hose Barb, 90°

1шт.

28

BN75978

HOSE CLAMP

SS-#12 ADJ. HS .56-1.25

2шт.

29

BN67335

.75" X 55" EVA Plastic

1шт.

30

BN73243

1" SS ST - Elbow, 90

1шт.

31

BN73220

Nipple - 1" NPT Close SS

1шт.

32

BN53473

VALVE,1" NPT

SS-Ball (2-Way) 1" NP

1шт.

33

BN73684

ELBOW

FT, HB, 90° 1" MPT x 3/4" Barb

1шт.

34

BN73761

VALVE,2" NPT x 2" NPT

Ball, 2" Full Port

1шт.

35

BN73775

COUPLING,2" Quick Disconnect x 2" Hose Barb, Poly

2" Cam Lock Poly

1шт.

36

BN22900

PLUG

2" Cam Lock

1шт.

37

BN73723

ELBOW,90 Degree Elbow, 1-1/2" Male NPT x 1-1/2" Hose Barb, Poly

1-1/2" NPT x 1-1/2" Hose Barb, Poly

1шт.

38

BN67413

Pipe, 2 NPT x 12.00, Thread, SS

1шт.

39

BN73369

Elbow - 2" 90 Degree 304

1шт.

Выбрано товаров: 39