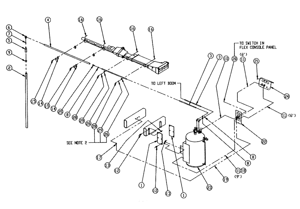
Запчасти Case IH FLEX-AIR (11-001) - FOAM MARKER GROUP (16) - FOAM MARKER

Схема запчастей Case IH FLEX-AIR - (11-001) - FOAM MARKER GROUP (16) - FOAM MARKER
29
20
29
9
8
11
12
1
19
8
23
13
16
24
4
17
12
28
18
11
8
15
16
16
22
5
14
10
28
26
21
3
6
26
2
7
25
1
14
3
11
15
13
16
FIT
1:1
100%

Артикул

Название

Примечание

Количество

1

BN311715

PLATE

Foam Tank Extension 6"

2шт.

2

BN68189

HOSE

2" ID x 50"

2шт.

3

BN22495

HOSE,0.75" ID x 480.00"

2шт.

4

BN68934

TUBE

Foam Marker

2шт.

5

BN65579

TUBE

Drop Hose

2шт.

6

BN65580

FITTING

Swivel, 3/4 MNPT-3/4FNPT

2шт.

7

BN73160

FITTING

NP, 3/4" NPT Close, SS

2шт.

8

BN75990

HOSE CLAMP

#16, Stainless Steel

4шт.

9

BN76020

HOSE CLAMP

1 & 1/2 - 2 Hose SS

2шт.

10

BN8207085

WIRE HARNESS

Foam Marker (42)

1шт.

11

BN2292088

AIR INTAKE TUBE

3/8" Black

21шт.

12

88725

BOLT,Hex, 3/4" - 10 x 1 3/4", Gr 5, Full Thd

8шт.

13

BN50969

NUT

3/4-10, NLN, G5

8шт.

14

BN67054

CLAMP

1.315" OD

4шт.

15

BN55381

BOLT

1/4"-20 X 3-1/4", Stainless Steel

8шт.

16

BN55359

LOCK NUT,1/4"-20, SS

22шт.

17

BN2290561

FITTING

2103-8-6

1шт.

18

BN2290333

LOOM

3/8" ID #1784

9шт.

19

BN3600002-072.54

Assembly 451AR-6-01

1шт.

20

BN2393063

TERMINAL

KTN93

2шт.

21

BN55383

BOLT

1/4-20 X 1/2 BSH 2

8шт.

22

BN300188

FOAM

Rear Cab Panel, Flex

1шт.

23

BN300189

TANK

Foam Assembly, Flex

1шт.

24

BN300190

Dash Panel Assembly, Foam, Flex

1шт.

25

BN73561

FITTING

HB, .3/4 NPT x 3/4 HS

2шт.

26

515-21254

CLAMP

Vinyl Coated 1"

14шт.

27

BN57232

CLAMP

Vinyl Coated 1"

2шт.

28

BN50212

BOLT,1/4"-20 x 3/4", Stainless Steel

14шт.

29

BN50138

WASHER,1/4", SS

14шт.

Выбрано товаров: 29