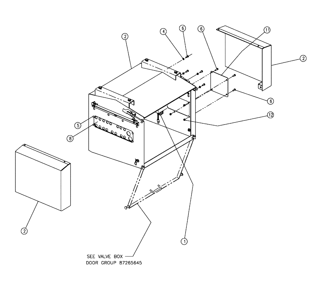
Запчасти Case IH FLX810 (02-015) - VALVE BOX GROUP, SINGLE BIN Bin Group

Схема запчастей Case IH FLX810 - (02-015) - VALVE BOX GROUP, SINGLE BIN Bin Group
2
5
2
2
6
6
6
1
11
8
12
4
FIT
1:1
100%

Артикул

Название

Примечание

Количество

1

87267733

HYDRAULIC VALVE

Manifold, Single With Fittings

1шт.

1

87267733R

REMAN-HYD VALVE

Reman Manifold, Single With Fittings

1шт.

1

87267733C

CORE-VALVE HYD

Core Return Number

1шт.

2

NS

NOT SERVICED

Box Group, Valve-438A

1шт.

See Fig. 02-016

1шт.

4

BN50144

LOCK WASHER

5/16, LW, SS

4шт.

5

16043224

BOLT,Hex, M8 x 16mm, Cl 8.8

4шт.

6

BN50476

BOLT,5/16"-18 x 0.75", Stainless

8шт.

8

344011A1

HYDRAULIC VALVE

7 section manifold

1шт.

11

BN313449

COVER

Valve Box Side

1шт.

12

BN55361

NUT,5/16"-18, Nylon, Stainless

4шт.

Выбрано товаров: 11