Запчасти Case IH 4330 (02-017) - BATTERY GROUP (01) - ENGINE

Схема запчастей Case IH 4330 - (02-017) - BATTERY GROUP (01) - ENGINE
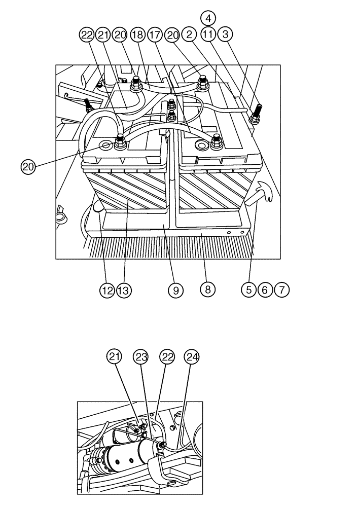
22
4
23
13
2
21
12
5
21
3
9
18
20
22
20
6
17
24
8
11
20
7
FIT
1:1
100%

Артикул

Название

Примечание

Количество

2

BN320331

BRACKET

Mount, Battery

2шт.

3

BN2390287

BOLT

battery 390-005

4шт.

4

BN1470004

NC 5/16-18

8шт.

5

BN2293347

CATCH

5171531

2шт.

6

BN1913304C

HH 1/4-20 X 5/8 NC

4шт.

7

BN1470402C

FLANGE NUT

NC 1/4-20 Flex Lock

4шт.

8

BN7140024

BOX

Battery Base

1шт.

9

BN7140027

PAD

battery

2шт.

11

BN2303143

WASHER

Flat 5/16

4шт.

12

BN2290753

GROMMET

2870 (7/8" Hole)

2шт.

13

BN300091

BATTERY

12V DC, 950 CCA

2шт.

17

BN8207052

NEG BATTERY CABLE

JU

1шт.

18

BN8207051

CABLE

Positive JU

1шт.

20

BN2294482

FLANGE NUT

Flange SS 3/8 NC

4шт.

21

BN8207053

Battery Cable Positive ST

1шт.

22

BN8207054

Battery Cable Negative ST

1шт.

23

BN8207055

CABLE

Frame Grounding

1шт.

24

BN8207057

Engine Grounding

1шт.

24a

BN7140021

LID

Battery Box

1шт.

Not Shown

1шт.

24b

BN8207056

Cable, Cab Grounding

1шт.

Not Shown

1шт.

Выбрано товаров: 22