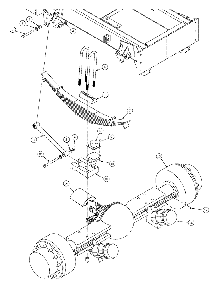
Запчасти Case IH 4375 (04-006) - REAR AXLE ASSEMBLY Frame & Suspension

Схема запчастей Case IH 4375 - (04-006) - REAR AXLE ASSEMBLY Frame & Suspension
12
6
4
5
10
14
2
2
13
7
16
17
15
4
9
1
11
3
8
FIT
1:1
100%

Артикул

Название

Примечание

Количество

1

BN305003

SCREW,7/8" - 9 x 7"

7/8-9 X 7, HH, G8

2шт.

2

87310608

WASHER,22mm ID x 44mm OD x 5mm Thk

22 x 44 x 5 mm, HDN, DOR

8шт.

3

BN304486

BUSHING,22.35mm ID x 31.75mm OD x 26.92mm L

1.25 X .88 X 1.06L

4шт.

4

BN305004

LOCK NUT

7/8-9, NLN, G8

4шт.

5

BN2292167

U-BOLT

1" x 3 1/2" x 21 1/2"

4шт.

6

BN303450

Seat, Upper, Offset

2шт.

7

BN305115

Rear 14 Leaf

2шт.

8

BN5183018

BUMPER

Rubber, 2 1/8"

2шт.

9

BN302743

BOLT

M10-1.5 X 45, HH, 10.9

8шт.

10

BN304419

NUT

M10-1.5, NLN, 10.9

8шт.

11

BN304485

ARM ASSY.

Torque, 21.5

2шт.

12

BN305144

7/8-9 X 9, HH, G8

2шт.

13

BN323480

PAD

Axle Spring, RS

1шт.

13a

BN323481

PAD

Axle Spring, CS

1шт.

Same Part Of Top Plate, Rear Suspension LH, P/N. BN305149 But Opposite Side

1шт.

Not Shown

1шт.

14

BN7136365

GUARD

U-Joint

1шт.

15

BN2390129

Axle, PRC 674-P201 2-Speed (3.91/5.45)

1шт.

15a

BN2390145

AXLE

PRC 74-202 2-Speed (4.88/6.80)

1шт.

Indicates Old Part Number Or Can Order Newer Part Number Listed Above

1шт.

16

BN7136129

BRAKE ASSY.

Chamber Assy/Inst

2шт.

17

BN41288

LUBE NIPPLE

1/8-27 X 90 Degree

2шт.

Выбрано товаров: 22