Запчасти Case IH 4375 (10-012) - RIGHT HAND DASH PANEL - FOAM MARKER ONLY Options

Схема запчастей Case IH 4375 - (10-012) - RIGHT HAND DASH PANEL - FOAM MARKER ONLY Options
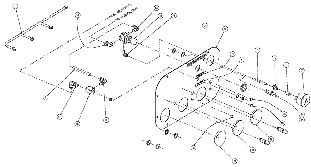
1
3
13
7
14
13
18
18
14
17
10
11
19
19
5
8
5
19
12
2
9
18
18
4
15
FIT
1:1
100%

Артикул

Название

Примечание

Количество

1

BN338422

1/8 STD.

1шт.

2

BN8093002-1

IDENTITY PLATE

Foam Marker

1шт.

3

BN7132065

IDENTITY PLATE

(Pressure)

1шт.

4

BN7132066

IDENTITY PLATE

Foamer Off-On

1шт.

5

BN2292088

AIR INTAKE TUBE

3/8" Black

1шт.

6

BN2292089

AIR INTAKE TUBE

Synflex, 1/4" Bulk

1шт.

7

BN2296768

GAUGE

Air Pressure 0-60

1шт.

8

BN2297225

LIGHT

39F3462

3шт.

9

BN2390267

BULB

ML1815T-3 1/4"

3шт.

10

87388151

REGULATOR

Air Pressure

1шт.

11

BN2399402

ADAPTER

1/8" MPT x 1/4" OD Tube, Push Lock Fitting

1шт.

12

BN2399405

90 ELBOW

1/8" MPT x 1/4" OD Tube, Push Lock Fitting

1шт.

13

BN2399411

ADAPTER

Elbow, 1/4" MPT x 3/8" OD Tube, Push Lock Fitting

2шт.

14

BN2399413

HYD CONNECTOR

Tube ME380180

2шт.

15

BN2402091

VALVE

Air Toggle 3-Way

1шт.

16

BN302686

INSTRUMENT PANEL

Right

1шт.

17

BN305131

WIRE HARNESS

RH Dash Lights

1шт.

18

BN2394623

PLUG

Dash 1/2" #2643

3шт.

19

BN2394636

PLUG

Dash 2 1/2" 2790

3шт.

Выбрано товаров: 19