Запчасти Case IH 4375 (06-001) - HYDRAULIC ASSEMBLY (07) - HYDRAULICS

Схема запчастей Case IH 4375 - (06-001) - HYDRAULIC ASSEMBLY (07) - HYDRAULICS
18
3
19
16
2
20
17
6
12
14
9
5
15
23
13
22
8
7
21
10
1
11
4
FIT
1:1
100%

Артикул

Название

Примечание

Количество

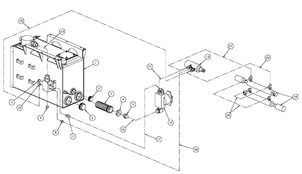
1

BN305002

Hydraulic Tank, Start Serial: 929

1шт.

1

BN307775

Hydraulic Tank, Serial Range: -928

1шт.

Indicates Old Part Number Or Can Order Newer Part Number Listed Above

1шт.

Not Shown

1шт.

2

BN304900

PLUG

SAE-32

1шт.

3

BN303527

FILTER STRAINER

48Mbx-32Fb, 100

1шт.

4

BN303941

FITTING

32Mb-20Fb

1шт.

5

BN302660

FITTING

20Mor-20Mb

1шт.

6

BN304901

PLUG

SAE-48

1шт.

7

BN302655

FITTING

12Mor-12Mb

1шт.

8

BN302650

FITTING

8Mor-8Mb

1шт.

9

BN68744

PLUG

16 ORBP, Hex Socket

1шт.

10

BN302558

ELBOW

8 MOR 8MB X 90

1шт.

11

9841223

PLUG,1-1/16" - 12 ORB

1шт.

12

BN302333

Grp

1шт.

13

BN302334

Steering Orbit Group

1шт.

14

BN302335

Hydraulic Steer Cylinder Group

1шт.

15

BN306882

HOSE

8100R1 -8Forx-8Forx90-78.5

1шт.

16

BN303488

HOSE

20-100R4-20Forx-20Forx-27

1шт.

17

BN306883

12-100R1 -12Forx-12Forx-99

1шт.

18

BN303023

HOSE

8-100R1-8Forx-8Forx-99

1шт.

19

BN303484

HOSE

8-100R1 -8Forx-8Forx-53.5

1шт.

20

BN303483

HOSE

8-100R1 -8Forx-8Forx-36.5

2шт.

21

BN303481

8-100R1-8Forx-8Forx90-96

1шт.

22

BN303482

8-100R1 -8Forx-8Forx90-78.5

1шт.

23

BN306853

24-100R1At-24Forx-24Forx

1шт.

Flex-Air Only

1шт.

Выбрано товаров: 27