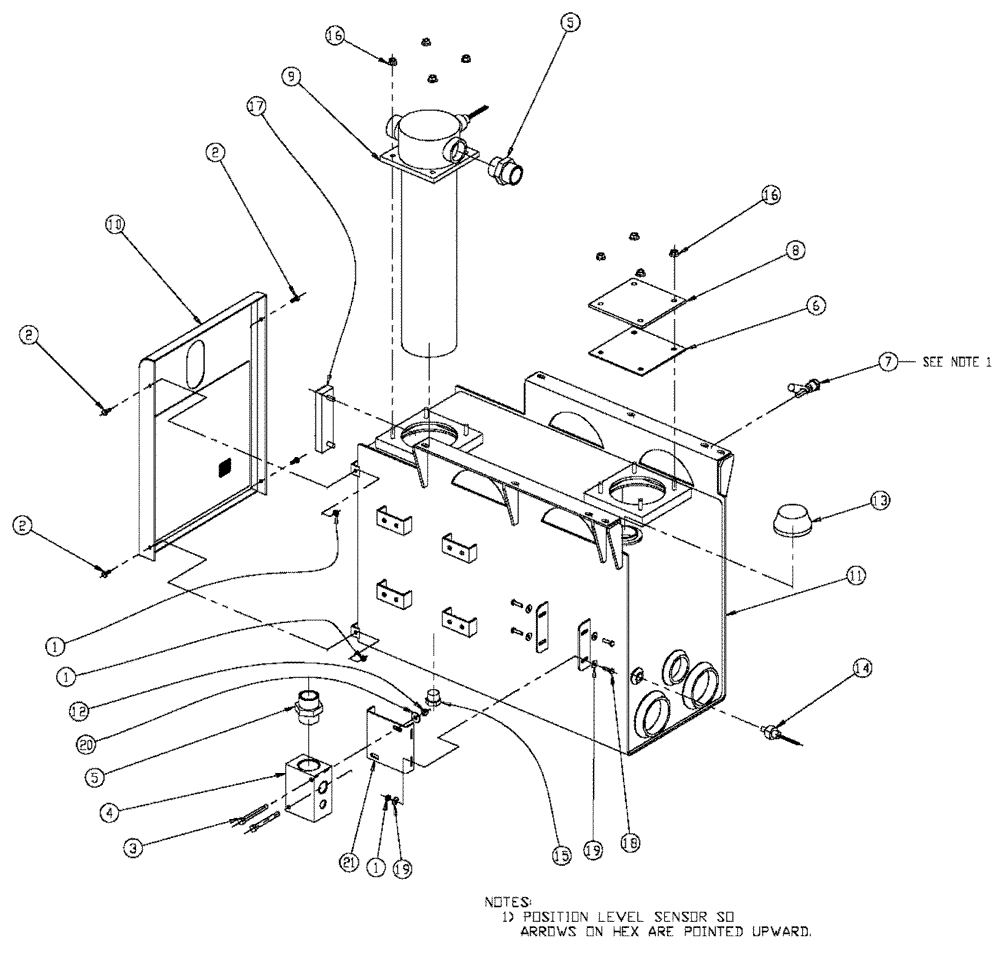
Запчасти Case IH 4375 (06-002) - HYDRAULIC TANK GROUP (07) - HYDRAULICS

Схема запчастей Case IH 4375 - (06-002) - HYDRAULIC TANK GROUP (07) - HYDRAULICS
18
10
19
9
16
1
6
3
16
4
11
2
5
2
15
8
20
1
7
13
14
19
12
17
1
5
21
2
FIT
1:1
100%

Артикул

Название

Примечание

Количество

1

BN300394

BOLT

Hex, M14 x 60, 8.8, Full Thd

8шт.

2

BN301011

NUT

M6-1 X 12, HH, 10.9

4шт.

3

BN301316

M8-1.25 X 90, HH, 10.9

2шт.

4

BN302877

MANIFOLD

Oil Return

1шт.

5

BN302898

FITTING

24Mor-24Mb

2шт.

6

BN306733

GASKET

Cover Plate

1шт.

7

BN306736

SWITCH

Level, Float

1шт.

8

BN306734

COVER

Cleanout

1шт.

9

87270936

FILTER

Intank, SAE 24, 6ABS

1шт.

See Fig. 06-008

1шт.

10

BN303906

SHIELD

Heat

1шт.

11

BN304242

TANK

HYD. Oil

1шт.

12

BN304315

NUT

M8-1.25, FLN, 10.9

2шт.

13

BN304339

VALVE

Press Valve

1шт.

14

BN305020

SENDER UNIT

Temperature, 3/8 NPT

1шт.

15

9841223

PLUG,1-1/16" - 12 ORB

1шт.

16

BN50061

LOCK NUT

3/8"-16, UNC, Whiz

8шт.

17

BN53957

GAUGE

Sight With Temperature

1шт.

18

86639038

BOLT,Hex, M6 x 1 x 25mm, Cl 10.9, Full Thd

4шт.

19

BN300488

WASHER

M6, Flat, 8.8

8шт.

20

86624185

WASHER,8.8mm ID x 17.5mm OD x 2mm Thk

2шт.

21

BN306337

BRACKET

Oil Manifold

1шт.

Выбрано товаров: 22