Запчасти Case IH FLX3010 (02-083) - FUEL INJECTION NOZZLE, FLX 3010 (01) - ENGINE

Схема запчастей Case IH FLX3010 - (02-083) - FUEL INJECTION NOZZLE, FLX 3010 (01) - ENGINE
3
1
2
FIT
1:1
100%

Артикул

Название

Примечание

Количество

J948529

INJECTOR ASSY.

Fuel

6шт.

JR948529

REMAN-FUEL INJECTOR

Remanufactured Injection Nozzle

6шт.

JC948529

CORE-FUEL INJECTOR

Return Part Number, Injection Nozzle

6шт.

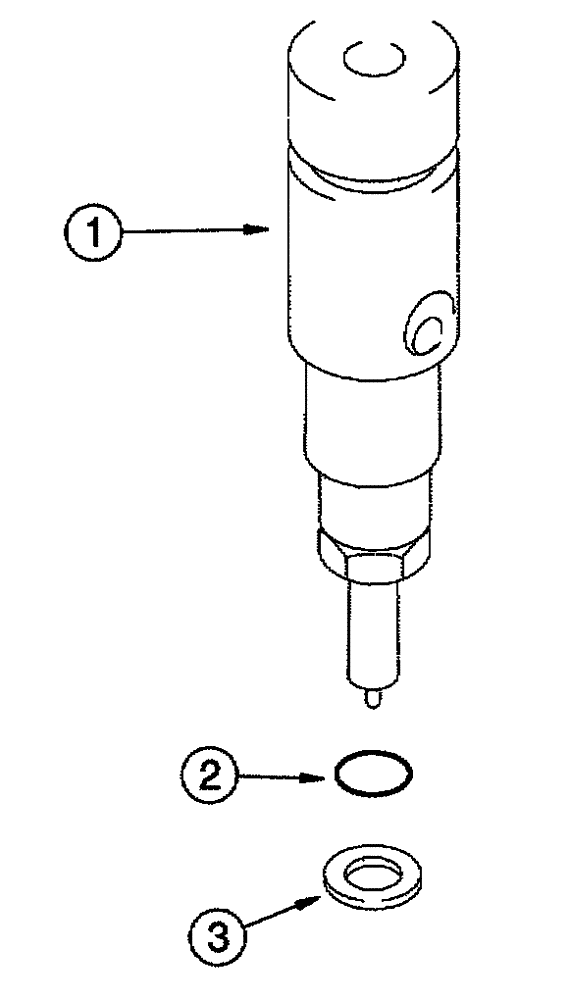
1

NSS

NOT SOLD SEPARAT

1шт.

2

238-7210

O-RING,0.139" Thk x 0.734" ID, -210, Cl 7, 75 Duro

1шт.

3

J937142

SEAL,7mm ID x 15mm OD x 1.5mm Thk

Injector Nozzle, 7 MM Injector Tip

1шт.

Выбрано товаров: 6