Запчасти Case IH FLX3010 (02-084) - FUEL INJECTION NOZZLE, FLX 3510 (01) - ENGINE

Схема запчастей Case IH FLX3010 - (02-084) - FUEL INJECTION NOZZLE, FLX 3510 (01) - ENGINE
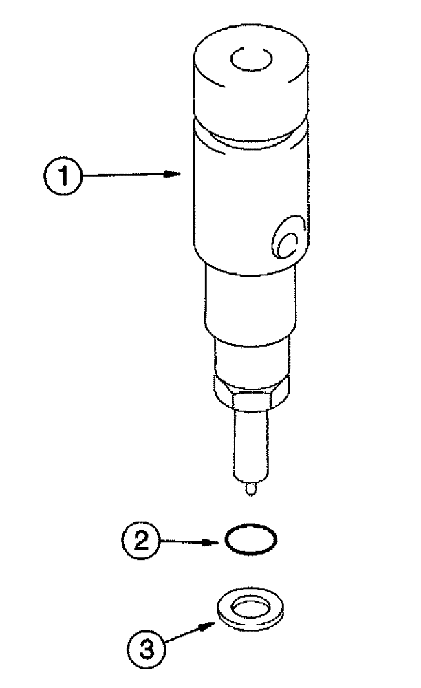
1
2
3
FIT
1:1
100%

Артикул

Название

Примечание

Количество

87422171

INJECTOR ASSY.

Remanufactured (North America Only)

6шт.

87422172

INJECTOR ASSY.

Return Number - Injector Assembly (Use This Part Number To Return Injector Core For Credit)

6шт.

87422170

INJECTOR ASSY.

Fuel

6шт.

87422170R

REMAN-INJECT NOZZLE

FLX3010, FLX3510 Both (8/04-8/06)

6шт.

87422170C

CORE-NOZZLE, INJECT

Return Number

1шт.

1

NSS

NOT SOLD SEPARAT

Injector

1шт.

2

238-7210

O-RING,0.139" Thk x 0.734" ID, -210, Cl 7, 75 Duro

1шт.

3

J937142

SEAL,7mm ID x 15mm OD x 1.5mm Thk

Injector Nozzle, 7 MM Injector Tip

1шт.

Выбрано товаров: 8