Запчасти Case IH FLX3010 (07-016) - AIR HORN GROUP Pneumatics

Схема запчастей Case IH FLX3010 - (07-016) - AIR HORN GROUP Pneumatics
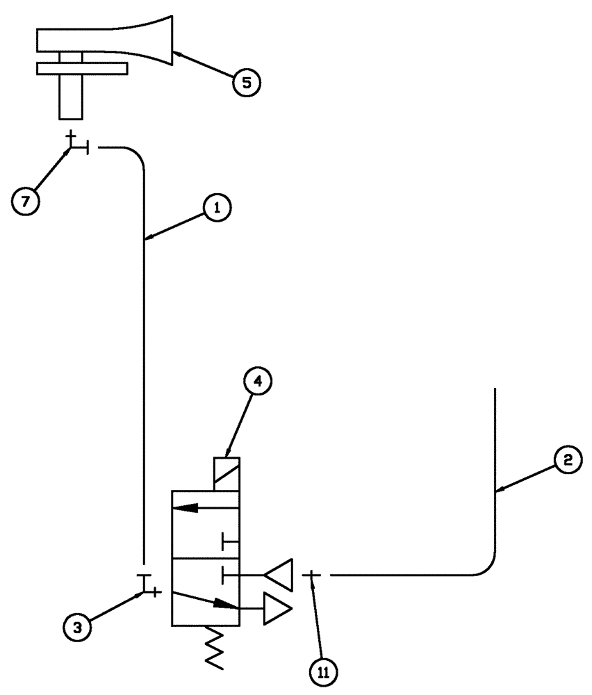
4
2
11
7
3
5
1
FIT
1:1
100%

Артикул

Название

Примечание

Количество

1

87265540

TUBE,0.375" DIA

Black 3/8 x 120"

1шт.

2

BN2292088

AIR INTAKE TUBE

3/8" Black

1шт.

Cut 15" from bulk roll

1шт.

3

BN2399411

ADAPTER

Elbow, 1/4" MPT x 3/8" OD Tube, Push Lock Fitting

1шт.

5

87268289

HORN

Fultone, Black

1шт.

7

BN2399413

HYD CONNECTOR

Tube ME380180

1шт.

8

120100

BOLT,M6 x 20mm, Cl 8.8

2шт.

9

353308

NUT,M6 x 1.0, Cl 8

2шт.

10

87529314

WASHER,6.6mm ID x 12.5mm OD x 2mm Thk

6.6 x 12.5 x 2 mm, HDN, DOR

4шт.

11

BN2399403

ADAPTER

1/4" MPT x 3/8" OD Tube, Push Lock Fitting

1шт.

Выбрано товаров: 10