Запчасти Case IH FLX3020 (02-07) - CYLINDER HEAD AND COVER (01) - ENGINE

Схема запчастей Case IH FLX3020 - (02-07) - CYLINDER HEAD AND COVER (01) - ENGINE
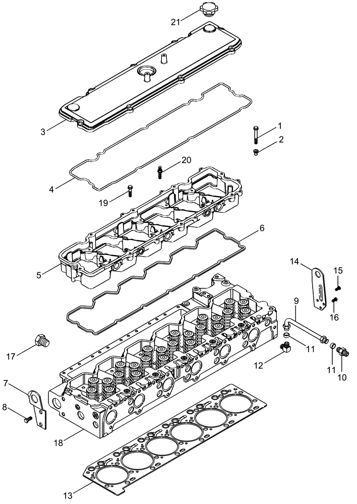
1
14
10
13
6
19
4
15
18
8
20
3
9
16
11
11
2
1
5
12
17
7
21
1
FIT
1:1
100%

Артикул

Название

Примечание

Количество

1

845-8035

BOLT,Hvy Hex, M8 x 35mm, Cl 8.8

7шт.

2

87342136

ISOLATOR

8шт.

3

87345871

VALVE COVER

1шт.

4

87345861

GASKET,3.2mm Thk

1шт.

5

87344767

HOUSING

Rocker

1шт.

6

87344755

GASKET

Rocker Lever Housing

1шт.

7

87340305

LIFTING EYE

Front

1шт.

8

844-12025

BOLT,Hvy Hex, M12 x 25mm, Cl 8.8

2шт.

9

J924589

TUBE,6.35 mm OD x 112.6 mm L

Inc. 18

1шт.

10

87026319

HYD CONNECTOR,1/2"-24 x 1/8" NPTF w/Nut

1/4 tube OD x 1/8

1шт.

11

222-153

SLEEVE,1/4" Tube

2шт.

12

87026320

ELBOW,90 Degree, 1/2"-24 Fem x 1/8"-27 NPTF

1/4 tube OD x 1/8 PT

1шт.

13

87344132

CYLINDER HEAD GASKET

Standard

1шт.

14

87340301

LIFTING EYE

Rear

1шт.

15

854-10020

BOLT,Hvy Hex, M10 x 20mm, Cl 10.9

2шт.

16

87340324

BOLT

1шт.

17

J906619

PLUG,1/8" - 27

pipe, 1/8-27 hex socket

1шт.

18

87397977

KNIFE HEAD

HEAD ASSY With Valves

1шт.

See Figure 02-09

1шт.

19

845-8075

BOLT,Hvy Hex, M8 x 75mm, Cl 8.8

7шт.

20

87340279

SCREW,Hex Flg, M8 x 1.25 x 35mm

M8 x 35

1шт.

21

87429619

FILLER CAP

1шт.

Выбрано товаров: 22