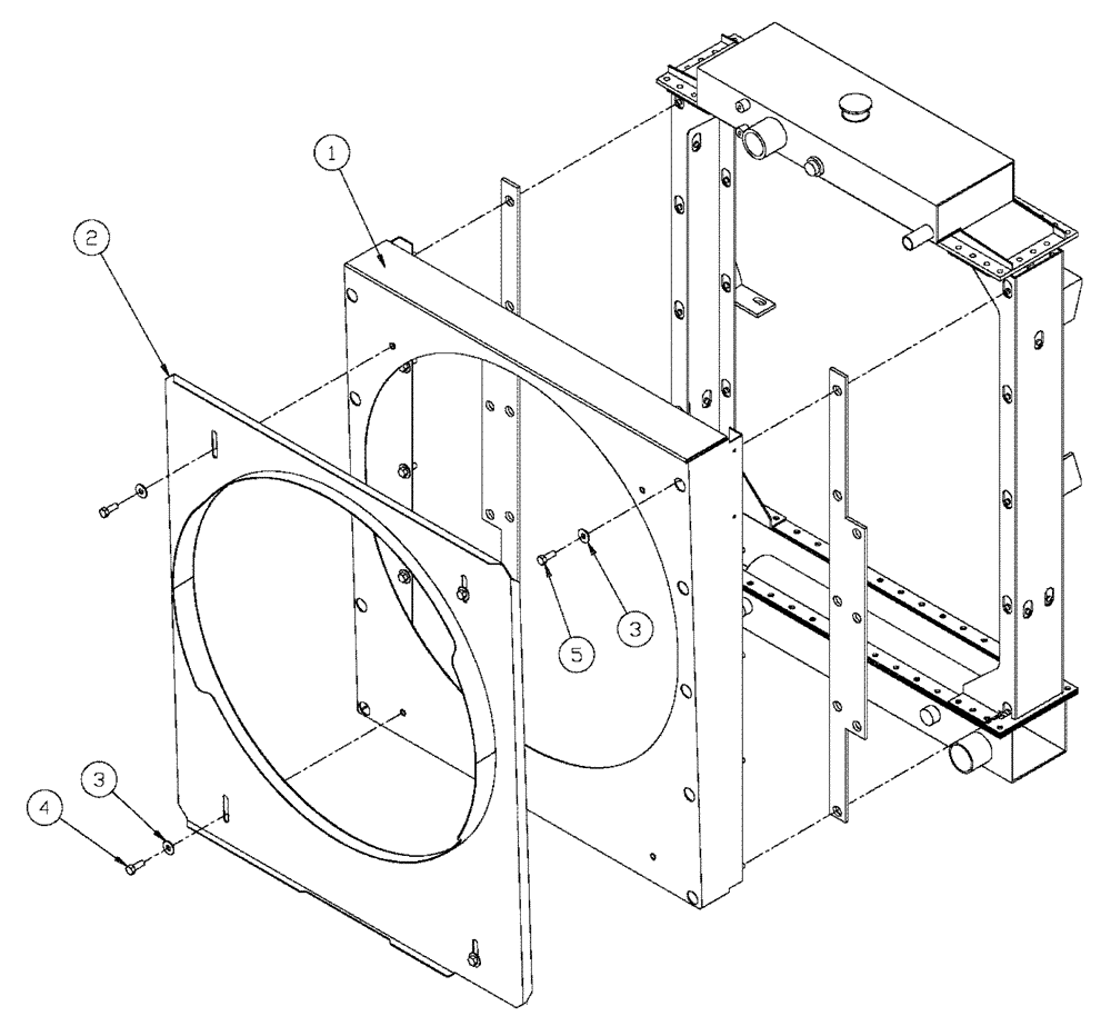
Запчасти Case IH FLX3300B (02-057) - FAN SHROUD GROUP (FLX3300B CAT ENGINE & FLX3330B) (01) - ENGINE

Схема запчастей Case IH FLX3300B - (02-057) - FAN SHROUD GROUP (FLX3300B CAT ENGINE & FLX3330B) (01) - ENGINE
4
3
2
1
3
5
FIT
1:1
100%

Артикул

Название

Примечание

Количество

1

BN319098

28" Fan Box

1шт.

2

BN319080

GUARD

Finger 28"

1шт.

3

BN50367

BOLT

3/8"-16 x 1", G5

10шт.

4

BN301045

BOLT,Hex, M10 x 25, 10.9, Full Thd

4шт.

5

BN300499

WASHER,M10, 10.9

4шт.

Выбрано товаров: 5