Качественные детали и логистика
Оригинальные и аналоговые запчасти с доставкой по России, Казахстану и Беларуси
©2022 PartSell ООО "Система" ИНН 2463123282 ОГРН 1212400004838
Центральный офис: г. Красноярск, Академика Киренского, д.87, пом.4
Телефон: 8 (800) 777-65-74 Email: zakaz@partsell.ru
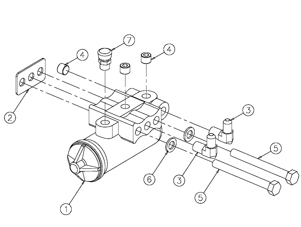
(07-003) - AIR GOVERNOR ASSEMBLY
№
Артикул
Название
Примечание
Количество
1
BN2290733
GOVERNOR
Air, 275491
1шт.
2
BN2390706
GASKET
Governor 236577
3
BN2290148
ELBOW
4MJ - 2MP 90º
2шт.
4
BN1666155
PLUG
Allen Head 1/8"
3шт.
5
88731
BOLT,Hex, 5/16"- 18 x 3", Gr 5
6
BN2303411
LOCK WASHER
5/16
7
BN2293227
BREATHER
301370 1/8" NPT
Выбрано товаров: 0