Качественные детали и логистика
Оригинальные и аналоговые запчасти с доставкой по России, Казахстану и Беларуси
©2022 PartSell ООО "Система" ИНН 2463123282 ОГРН 1212400004838
Центральный офис: г. Красноярск, Академика Киренского, д.87, пом.4
Телефон: 8 (800) 777-65-74 Email: zakaz@partsell.ru
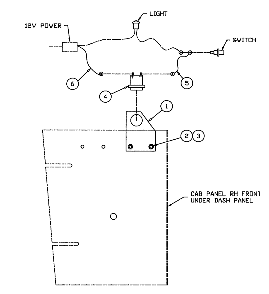
(07-014) - PARK BRAKE ALARM GROUP
№
Артикул
Название
Примечание
Количество
1
BN325626
ALARM
Mount, Park Brake
1шт.
2
280129
NUT,1/4"-20
2шт.
3
88542
BOLT,Hex, 1/4"-20 x 1/2", Gr 5
4
BN319663
BUZZER
Chime Tone
5
BN325627
WIRE HARNESS
Assembly
6
BN325628
Выбрано товаров: 0