Качественные детали и логистика
Оригинальные и аналоговые запчасти с доставкой по России, Казахстану и Беларуси
©2022 PartSell ООО "Система" ИНН 2463123282 ОГРН 1212400004838
Центральный офис: г. Красноярск, Академика Киренского, д.87, пом.4
Телефон: 8 (800) 777-65-74 Email: zakaz@partsell.ru
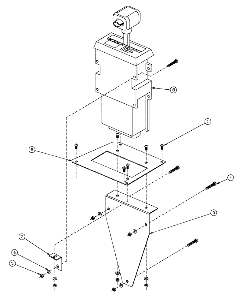
(03-007) - SELECTOR ASSEMBLY
№
Артикул
Название
Примечание
Количество
1
161-115
HEX SOC SCREW,Btn Hd, 1/4" - 20 x 3/4"
7шт.
2
BN310715
PANEL
MD Shifter
1шт.
3
BN304085
MOUNTING PLATE
Shifter
4
BN1913307C
HH 1/4-20 X 3/4 NC
4шт.
5
BN1470402C
FLANGE NUT
1/4-20, FLN, G8
6
BN2303140
PLATE
Flat 1/4
7
BN310717
BRACKET
8
BN305690
SELECTOR
Selector Assembly
Выбрано товаров: 0