Качественные детали и логистика
Оригинальные и аналоговые запчасти с доставкой по России, Казахстану и Беларуси
©2022 PartSell ООО "Система" ИНН 2463123282 ОГРН 1212400004838
Центральный офис: г. Красноярск, Академика Киренского, д.87, пом.4
Телефон: 8 (800) 777-65-74 Email: zakaz@partsell.ru
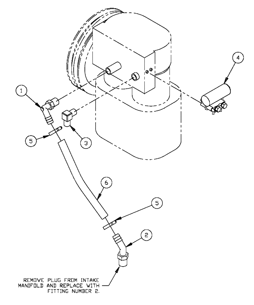
(07-003) - AIR COMPRESSOR GROUP (FLX3300B CAT ENGINE & FLX3330B)
№
Артикул
Название
Примечание
Количество
1
217-129
ELBOW,90 Degree Elbow, 3/4" Hose Barb x 1/2" Male NPTF
1шт.
2
217-145
ELBOW,45 Degree Elbow, 3/4" Hose Barb x 3/4" Male NPTF
3
BN2393603
FITTING
2103-8-10
4
BN7136239
Air Governor
5
BN75990
HOSE CLAMP
#16, Stainless Steel
2шт.
6
BN27905
HOSE,19.05mm ID x 304.8mm L
EPDM 3/4" ID x 12"
Выбрано товаров: 0