Запчасти Case IH FLX3330B (07-016) - PNEUMATIC THROTTLE GROUP (FLX3300B CAT ENGINE & FLX3330B) Pneumatics

Схема запчастей Case IH FLX3330B - (07-016) - PNEUMATIC THROTTLE GROUP (FLX3300B CAT ENGINE & FLX3330B) Pneumatics
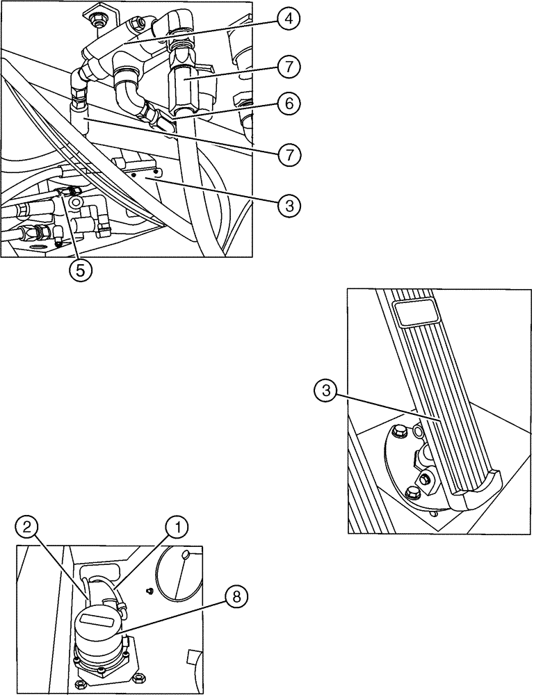
1
5
6
2
7
3
4
7
8
3
FIT
1:1
100%

Артикул

Название

Примечание

Количество

1

BN2292089

AIR INTAKE TUBE

Synflex, 1/4" Bulk

1шт.

2

BN2393051

TUBE,1/4" X 500' BULK, SAE J844, RED

Air, Synflex 1/4" Red, Bulk

1шт.

3

BN305695

THROTTLE

Air

1шт.

43234

BOLT,Hex, M8 x 1.25 x 25mm, Cl 10.9, Full Thd

3шт.

Associated Part Of Air Throttle Pedal, P/N BN305695

1шт.

BN304315

NUT

M8-1.25, FLN, 10.9

3шт.

Associated Part Of Air Throttle Pedal, P/N BN305695

1шт.

BN304583

MODULE

Tvp

1шт.

Not Shown

1шт.

4

BN305696

HYDRAULIC VALVE

Shuttle

1шт.

BN310214

Pneumatic

1шт.

Includes Refs. 5 - 7

1шт.

5

BN310211

AIR HOSE,152.00"

#4 JIC Female

1шт.

From Air Divider To Throttle Pedal

1шт.

6

BN310210

AIR HOSE,55.00"

#4 JIC Female

1шт.

Shuttle Valve To Air Cylinder

1шт.

7

BN310207

AIR HOSE,20.00"

#4 JIC Female

2шт.

Foot Throttle To Shuttle Valve

1шт.

8

NSS

NOT SOLD SEPARAT

Hand Throttle Valve Assembly

1шт.

See Fig. 07-018

1шт.

NSS

NOT SOLD SEPARAT

R/H Cab Floor Assembly, (Resume)

1шт.

See Fig. 07-017

1шт.

Выбрано товаров: 22