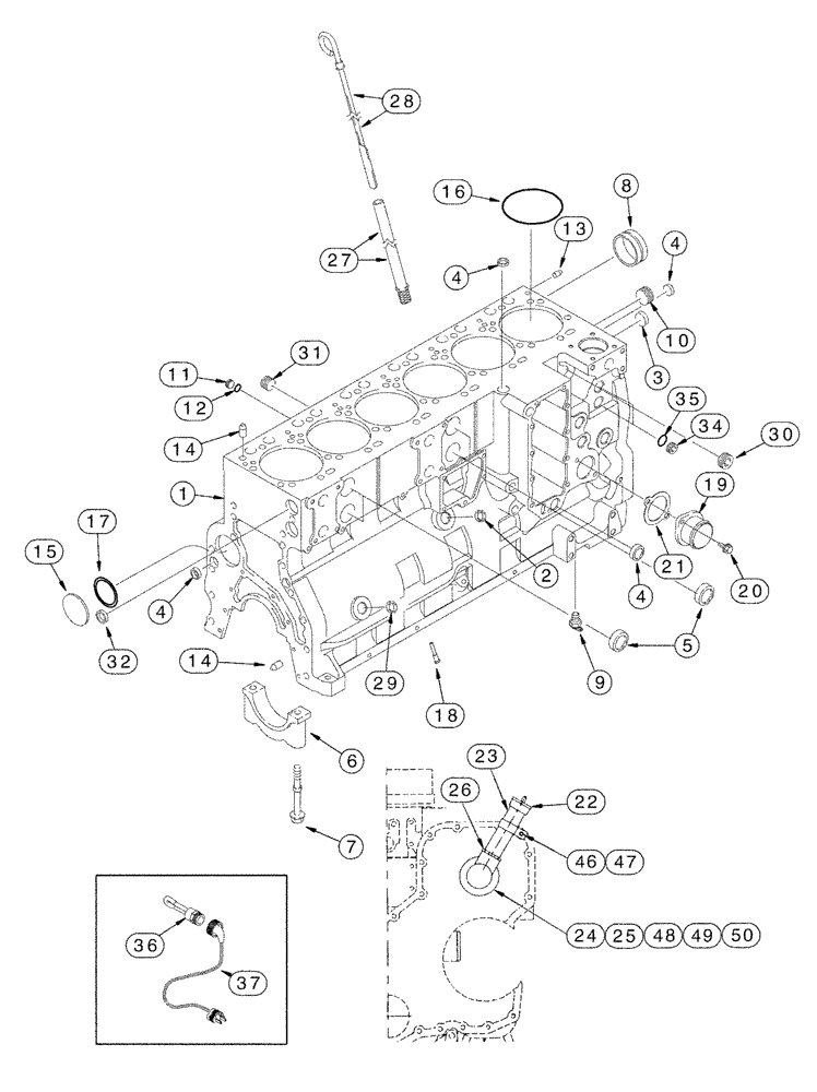
Запчасти Case IH FLX3330B (02-018) - CYLINDER BLOCK (FLX3300B CASE ENGINE) (01) - ENGINE

Схема запчастей Case IH FLX3330B - (02-018) - CYLINDER BLOCK (FLX3300B CASE ENGINE) (01) - ENGINE
3
22
10
14
21
34
11
5
28
2
9
16
23
1
17
12
25
30
50
31
4
7
29
14
37
13
4
35
4
48
36
49
15
46
8
20
24
47
6
4
19
26
32
27
18
FIT
1:1
100%

Артикул

Название

Примечание

Количество

227199A1

ENGINE ASSEMBLY

ENGINE ASSY Complete Engine LeSS : Starter, Alternator, Fan, Fan Belt, Air Cleaner, Muffler And Exhaust Pipe, Order : 314141A1

1шт.

314141A1

BASIC ENGINE

Service Engine LeSS : Starter, Alternator, Fan, Fan Belt, Air Cleaner, Muffler, Exhaust Manifold, Flywheel And Housing, Oil Fill And Dipstick, Fuel Injection Pump, Injectors And Lines, Front Pulley, Belt Tensioner, Turbocharger And Aftercooler

1шт.

314141A1R

ENGINE, EXCHANGE

ENGINE (EXCHANGE) Assembly, Remanufactured, N.A. Only

1шт.

314141A1C

ENGINE ASSEMBLY

ENGINE ASSY Return Number

1шт.

JR945432

SHORT ENGINE

Block Assembly, Remanufactured, N.A. Only

1шт.

JC945432

CORE-SHORT ENGINE

Return Number

1шт.

J945432

SKELETON ENGINE

Block Assembly, Short With: Stripped Block, Pistons, Connecting Rods And Bearings, Crankshaft And Bearings, Consists Of : 1 - 8

1шт.

1

J944673

BASIC BLOCK

Assembly, Stripped, Also Order : J800332

1шт.

Consists of Refs. 2 - 8

1шт.

2

J920706

PLUG

Expansion

1шт.

3

A77586

PLUG

Expansion, 28.9mm od

2шт.

4

A77506

PLUG

Expansion, 21 mm od

4шт.

5

J905401

PLUG

Expansion

4шт.

6

J917313

BEARING CAP

7шт.

7

J916369

FLANGE BOLT,Hex, M14 x 2 x 128mm, Cl 10.9

14шт.

8

J945329

CAMSHAFT BEARING,60.08mm ID x 64.13mm OD x 25mm L

Bushing, Replaces : J943199

7шт.

See Fig. 02-017

1шт.

J800332

KIT

Block

1шт.

Consists of Refs. 9 - 18

1шт.

9

217-103

COCK, DRAIN

valve, 1/4" PT

1шт.

10

86625135

PLUG,1" - 11-1/2 NPT

1шт.

11

J678923

PLUG,M10 x 1

Hex Socket, 10 MM

6шт.

Includes 637-72081

1шт.

12

86625087

O-RING,1.6mm Thk x 8.1mm ID, Cl 7, 75 Duro

1шт.

13

J900257

PIN,10.01mm OD x 16mm L

10 mm x 16 mm long

2шт.

14

J901846

PIN,12.01mm OD x 24mm L

4шт.

15

41-3044

PLUG,Exp, 2 3/4"

1шт.

16

J907177

SEAL,118mm ID x 122.32mm OD x 4mm Thk

6шт.

17

J926048

O-RING,0.07" Thk x 2.614" ID, -38, Cl 5, 75 Duro

66 MM ID

1шт.

18

J928031

NOZZLE,8.5mm OD x 30mm L

12шт.

19

J944720

HYD CONNECTOR

1шт.

20

845-8020

BOLT,Hvy Hex, M8 x 20mm, Cl 8.8

2шт.

21

J913032

GASKET

Mounting

1шт.

22

J914136

CAP

Filler

1шт.

23

J914738

TUBE,32 mm ID x 38 mm OD x 138 mm L

Oil Filler

1шт.

24

J931059

GASKET

Cover Plate

1шт.

25

J900630

BOLT,Hex Flg, M8 x 20, 8.8, Full Thd

1шт.

26

J902363

O-RING,30mm ID x 48mm OD x 3mm Thk

Rectangular Ring

1шт.

27

A77645

TUBE

1шт.

28

J934481

DIPSTICK

1шт.

29

J943808

PLUG

Expansion, 22 MM

1шт.

30

NSS

NOT SOLD SEPARAT

M22 O-Ring Hex HD

3шт.

See Fig. 02-003

1шт.

31

444704

PLUG,Hex Soc, 1/2"-14

1шт.

32

J920443

PLUG

Expansion, 30 mm od

2шт.

34

313244A1

PLUG

hex socket, 22 mm

2шт.

Includes 313246A1

1шт.

35

313246A1

O-RING,2.2mm Thk x 19.3mm ID

19 mm id x 2.2 mm

1шт.

310493A1

KIT

engine block heater, 120V, 1000W

1шт.

Consists of Refs. 36, 37

1шт.

36

NSS

NOT SOLD SEPARAT

Element (Engine Block Heater, 120 Volt)

1шт.

37

87105748

ELECTRIC CABLE,120V, 15A

1829 mm (72") (Engine Block Heater, 120 Volt)

1шт.

310494A1

KIT

engine block heater, 240V, 1000W

1шт.

Consists of Refs. 36A, 37A

1шт.

36a

NSS

NOT SOLD SEPARAT

Element (Engine Block Heater, 240 Volt)

1шт.

37a

NSS

NOT SOLD SEPARAT

Cable (Engine Block Heater, 240 Volt)

1шт.

A77900

REPAIR KIT

Engine Block

1шт.

Not Shown

1шт.

Consists of Refs. 38 - 50

1шт.

38

A77901

PISTON & RINGS KIT

Standard

6шт.

See Fig. 02-020

1шт.

39

87443389

BEARING LINER

Kit - Upper And Lower, Standard

6шт.

See Fig. 02-020

1шт.

40

J901597

PIN

6шт.

See Fig. 02-020

1шт.

41

J945930

BEARING SET

Crankshaft, Main, Upper and Lower Set, Standard

6шт.

See Fig. 02-019

1шт.

42

J945929

THRUST BEARING

Main Thrust, Upper And Lower Set, Standard

1шт.

See Fig. 02-019

1шт.

43

A77904

GASKET KIT

Package

1шт.

See Fig. 02-021

1шт.

44

J943366

CYLINDER HEAD GASKET,2.11mm Thk

1шт.

See Figs. 02-013 & 02-014

1шт.

45

A77679

GASKET KIT

Oil Pan

1шт.

See Fig. 02-012

1шт.

46

J68189

1шт.

47

J906216

FLANGE NUT

Hexagon Flange

1шт.

48

J921644

ADAPTER

Connection, Oil Filter

1шт.

49

J904046

PLATE

Cover

1шт.

50

J943408

SPACER

Mounting

1шт.

Выбрано товаров: 80