Запчасти Case IH FLX3330B (02-028) - FUEL INJECTION - NOZZLE (FLX3300B CASE ENGINE) (01) - ENGINE

Схема запчастей Case IH FLX3330B - (02-028) - FUEL INJECTION - NOZZLE (FLX3300B CASE ENGINE) (01) - ENGINE
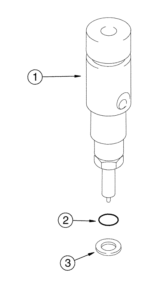
1
2
3
FIT
1:1
100%

Артикул

Название

Примечание

Количество

JR943731

REMAN-INJECT NOZZLE

REMAN-INJECTION NOZZLE Assembly, Remanufactured, N.A. Only

1шт.

JC943730

CORE-INJECTION PUMP

Return Number

1шт.

1

J943731

NOZZLE INJECTION

Assembly

1шт.

Consists of Refs. 2, 3

1шт.

2

238-7210

O-RING,0.139" Thk x 0.734" ID, -210, Cl 7, 75 Duro

1шт.

3

J906659

SEAL

M7

1шт.

Выбрано товаров: 6