Качественные детали и логистика
Оригинальные и аналоговые запчасти с доставкой по России, Казахстану и Беларуси
©2022 PartSell ООО "Система" ИНН 2463123282 ОГРН 1212400004838
Центральный офис: г. Красноярск, Академика Киренского, д.87, пом.4
Телефон: 8 (800) 777-65-74 Email: zakaz@partsell.ru
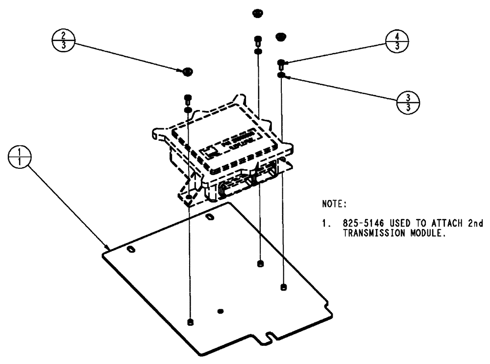
(08-004) - TRANSMISSION INTERFACE ASSEMBLY
№
Артикул
Название
Примечание
Количество
1
BN324547
Assembly, FLX 535
1шт.
2
86511444
FLANGE NUT,Hex, M6 x 1
3шт.
3
87529301
WASHER,5.6mm ID x 10mm OD x 1mm Thk
5.6 x 10 x 1 mm CST DOR
4
840-1512
SCREW,Pan, M5 x 12mm, Gr 4.8
Выбрано товаров: 0