Качественные детали и логистика
Оригинальные и аналоговые запчасти с доставкой по России, Казахстану и Беларуси
©2022 PartSell ООО "Система" ИНН 2463123282 ОГРН 1212400004838
Центральный офис: г. Красноярск, Академика Киренского, д.87, пом.4
Телефон: 8 (800) 777-65-74 Email: zakaz@partsell.ru
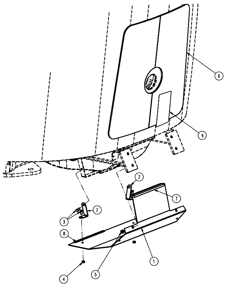
(01-006) - HEAT SHIELD GROUP
№
Артикул
Название
Примечание
Количество
1
87266957
DEFLECTOR
Cab Skirt
1шт.
2
342423A1
BRACKET, SUPPORTING
mount, heat shield
2шт.
3
16043224
BOLT,Hex, M8 x 16mm, Cl 8.8
4шт.
4
86528579
NUT,M8 x 1.25
5
100037
LOCK NUT,M10 x 1.5, Cl 8
6
87266635
FOAM INSULATION
Cab, Reflect
7
87266958
RUBBER SEAL
Clip On, Rubber
8
BN303902
SOFT TRIM
Edge, 9 3/4"
9
87265531
TAPE
Foil, 2"
8шт.
Выбрано товаров: 0