Запчасти Case IH FLX3510 (04-015) - STORAGE GROUP Frame & Suspension

Схема запчастей Case IH FLX3510 - (04-015) - STORAGE GROUP Frame & Suspension
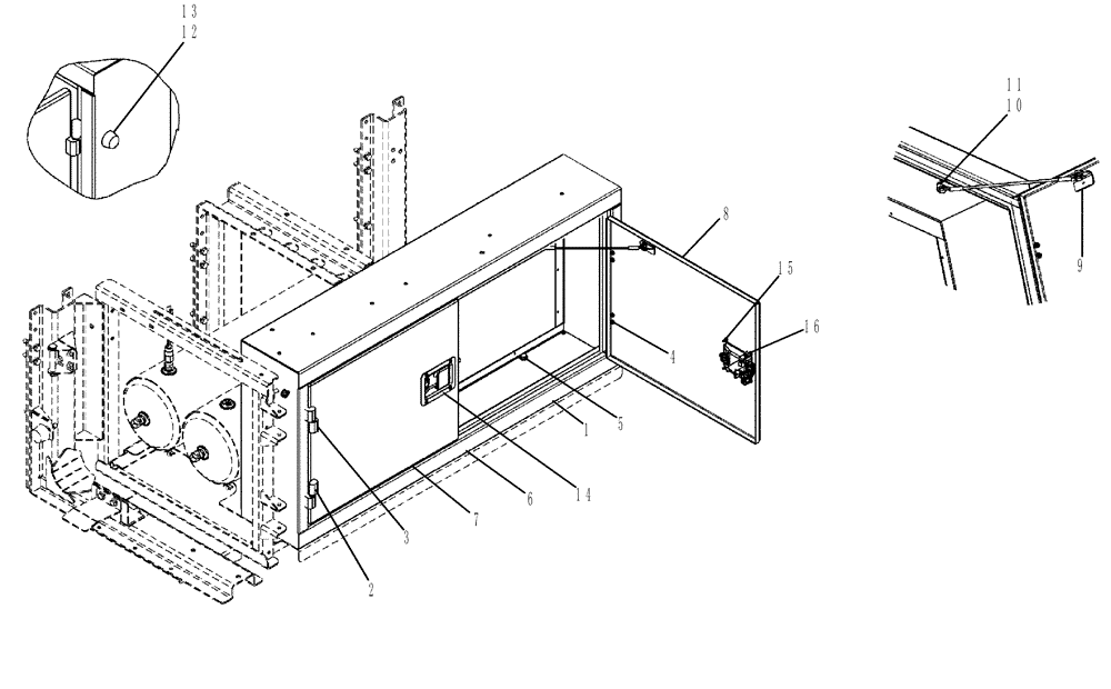
9
6
12
13
4
5
1
11
3
14
10
8
2
7
16
15
FIT
1:1
100%

Артикул

Название

Примечание

Количество

1

87521694

STORAGE, GASKET SEAL, SEE FIG. 04-016

1шт.

2

BN306290

HINGE

NYLON, TYPE A, M6

2шт.

3

BN306286

HINGE

NYLON, TYPE B, M6

2шт.

4

87343625

HEX SOC SCREW,M6 x 16mm, Cl 8.8, Full Thd

M6 X 16 H-SOC 8.8

16шт.

5

87529312

WASHER,11mm ID x 24mm OD x 3mm Thk

4шт.

6

86980401

BOLT,Hex, M10 x 1.5 x 30mm, Cl 8.8, Full Thd

4шт.

7

87268752

DOOR

Toolbox, Front

1шт.

8

87268753

DOOR

Toolbox, Rear

1шт.

9

F64526

CABLE

Door

2шт.

10

86980378

BOLT,Hex, M8 x 1.25 x 16mm, Cl 8.8, Full Thd

4шт.

11

86980514

LOCK NUT,Hex, M8, Cl 8, DOR

4шт.

12

343310A1

BUMPER

vibration CSS

1шт.

13

BN315824

LOCK NUT

5/16-24, NLN, G8

1шт.

14

BN323944

LATCH

2шт.

15

BN311631

BOLT,#10 - 24 x 3/4", SST

10-24 x .75, BSH, Stainless Steel

8шт.

16

BN310266

BHD LOCK NUT,#10-24, Nylon, Stainless Steel

8шт.

Выбрано товаров: 16