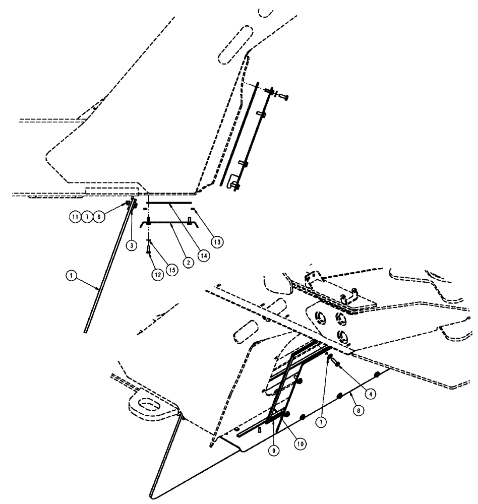
Запчасти Case IH FLX3510 (04-022) - FRONT MUD FLAP & RADIATOR ACCESS GROUP Frame & Suspension

Схема запчастей Case IH FLX3510 - (04-022) - FRONT MUD FLAP & RADIATOR ACCESS GROUP Frame & Suspension
1
15
6
13
9
8
12
7
2
11
3
10
14
4
7
FIT
1:1
100%

Артикул

Название

Примечание

Количество

1

87267009

MUDFLAP

24 x 40

1шт.

2

87267003

COVER

Access, Lower

1шт.

3

BN320352

STIFFENER

Mudflap, Poly

1шт.

4

86980401

BOLT,Hex, M10 x 1.5 x 30mm, Cl 8.8, Full Thd

10шт.

6

86980515

NUT,Hex, M10 x 1.5, Cl 8.8, DOR

7шт.

7

BN50146

WASHER,3/8", Stainless

17шт.

8

87272651

COVER

Radiator Access

1шт.

9

NS

NOT SERVICED

Seal, Horizontal

2шт.

10

NS

NOT SERVICED

Seal, Vertical

2шт.

11

86980403

BOLT,Hex, M10 x 1.5 x 40mm, Cl 8.8, Full Thd

7шт.

12

86980380

BOLT,Hex, M8 x 1.25 x 25mm, Cl 8.8, Full Thd

4шт.

13

87267005

SEAL

Lower, Front & Back

2шт.

14

87267004

SEAL

Lower, Side

2шт.

15

86624184

WASHER,9mm ID x 16mm OD x 1.6mm Thk

4шт.

Выбрано товаров: 14