Качественные детали и логистика
Оригинальные и аналоговые запчасти с доставкой по России, Казахстану и Беларуси
©2022 PartSell ООО "Система" ИНН 2463123282 ОГРН 1212400004838
Центральный офис: г. Красноярск, Академика Киренского, д.87, пом.4
Телефон: 8 (800) 777-65-74 Email: zakaz@partsell.ru
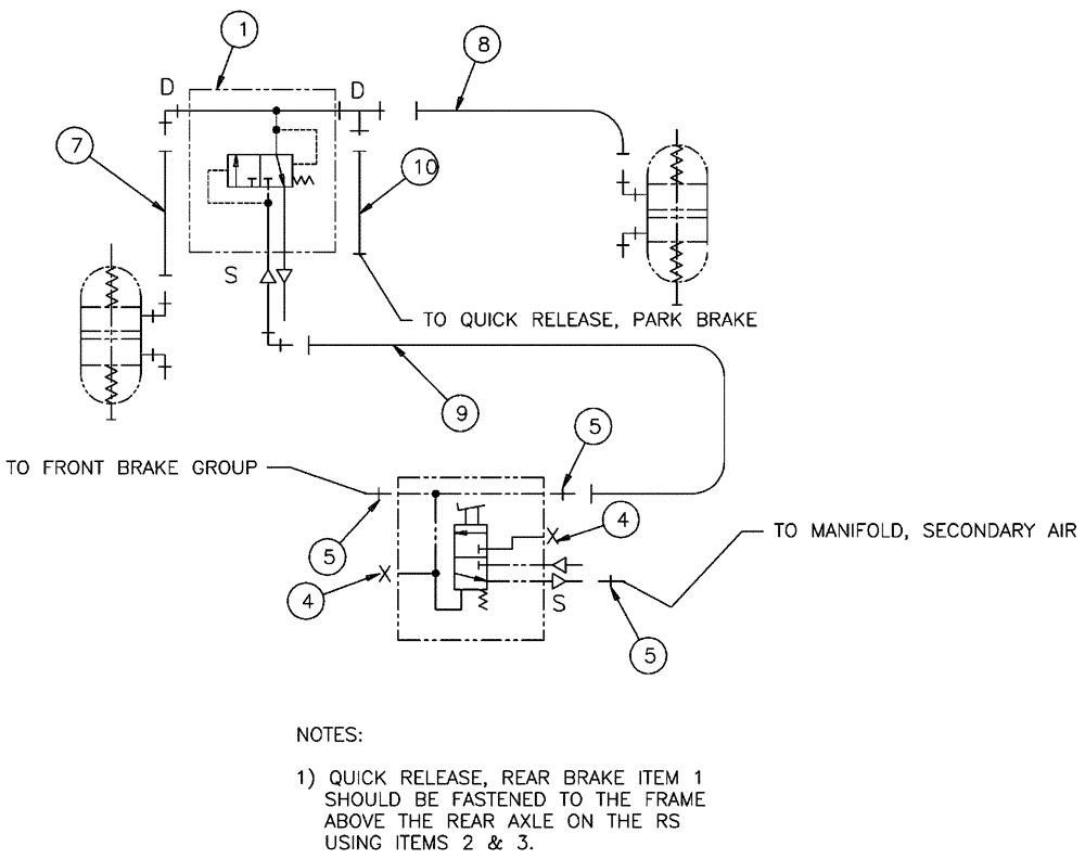
(07-006) - SERVICE BRAKE GROUP
№
Артикул
Название
Примечание
Количество
1
NSS
NOT SOLD SEPARAT
Quick Release, Rear Brake
1шт.
See Fig. 07-010
2
43128
BOLT,M8 x 1.25 x 30mm, Cl 8.8
4шт.
3
86528579
NUT,M8 x 1.25
4
BN1666161
PLUG
Allen Head 1/2
2шт.
5
BN2290182
FITTING
0103-8-8S
3шт.
7
342924A1
HOSE
6 x 21"
8
342926A1
6 x 35"
9
342923A1
8 x 225"
10
342925A1
6 x 28"
Выбрано товаров: 0