Запчасти Case IH FLX4010 (10-020) - AUTOGUIDE HYDRAULIC GROUP Options

Схема запчастей Case IH FLX4010 - (10-020) - AUTOGUIDE HYDRAULIC GROUP Options
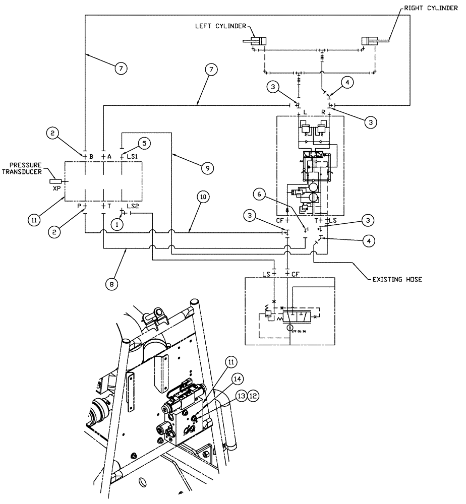
11
7
3
2
11
3
14
7
10
4
4
5
3
2
13
9
1
8
12
3
6
FIT
1:1
100%

Артикул

Название

Примечание

Количество

1

BN302547

90 ELBOW

9/16-18 x 7/16-20, ZND

1шт.

2

BN302650

FITTING

8 MOR-8 MB

4шт.

3

BN302436

TEE

13/16 -16 ORFS x 13/16 -16 ORFS Swivel

4шт.

4

87586601

45 ELBOW

8FPRX-8MOR X 45

2шт.

5

BN302640

FITTING

4MOR-4MB

1шт.

6

BN302444

ELBOW UNION

Union Elbow 8MOR-8FOR X 90

1шт.

7

87267870

HOSE

-8 X 33

2шт.

8

BN309832

HOSE

-12 X 27, 180

1шт.

9

BN307845

HOSE ASSY.

1шт.

10

BN309746

HOSE

-8 X 635MM

1шт.

11

84139307

VALVE

Auto Guidance

1шт.

12

86980408

BOLT,Hex, M10 x 1.5 x 80mm, Cl 8.8

2шт.

13

86980515

NUT,Hex, M10 x 1.5, Cl 8.8, DOR

2шт.

14

87529312

WASHER,11mm ID x 24mm OD x 3mm Thk

2шт.

Выбрано товаров: 14