Качественные детали и логистика
Оригинальные и аналоговые запчасти с доставкой по России, Казахстану и Беларуси
©2022 PartSell ООО "Система" ИНН 2463123282 ОГРН 1212400004838
Центральный офис: г. Красноярск, Академика Киренского, д.87, пом.4
Телефон: 8 (800) 777-65-74 Email: zakaz@partsell.ru
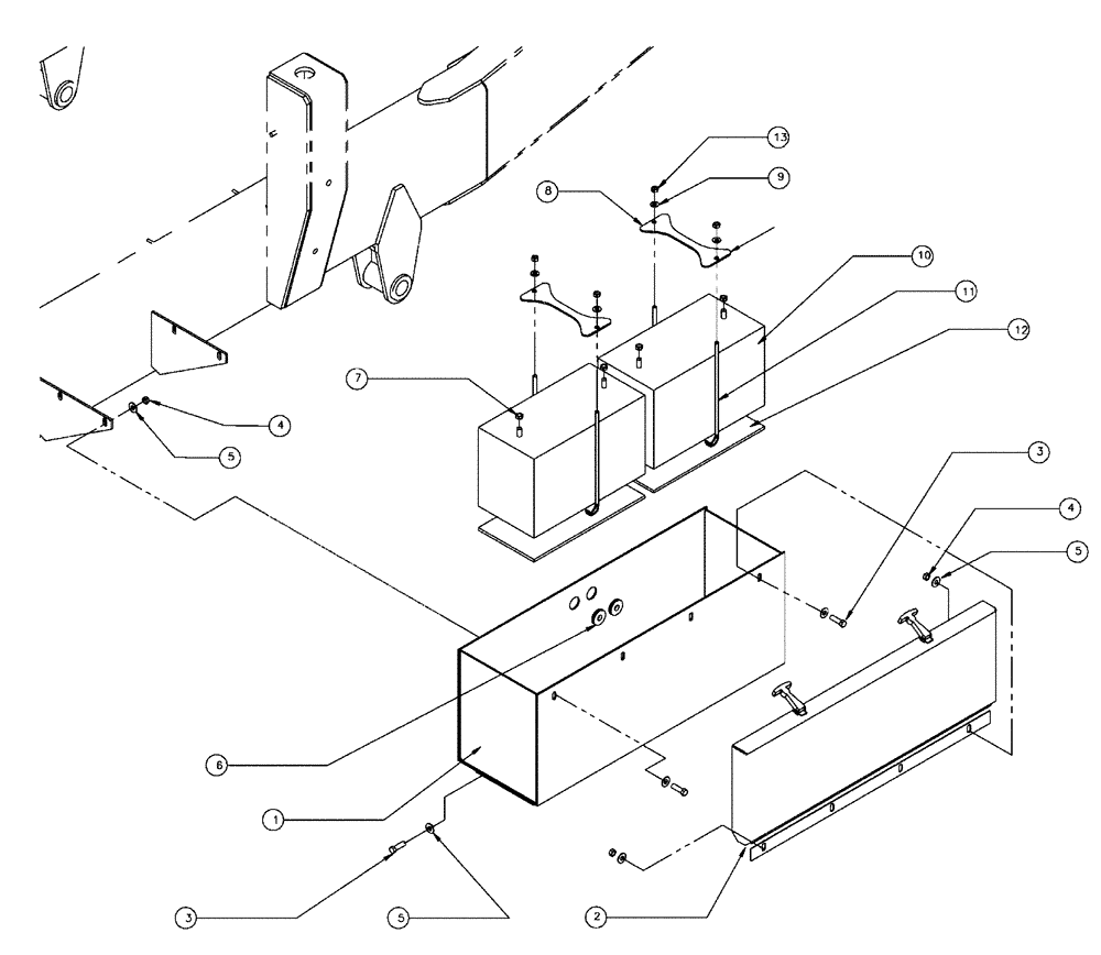
(02-030) - BATTERY GROUP
№
Артикул
Название
Примечание
Количество
1
BN300069
BOX
Weldment, Battery
1шт.
2
BN301793
LID
Battery
3
43140
BOLT,Hex, M10 x 1.5 x 30mm, Cl 8.8
10шт.
4
100037
LOCK NUT,M10 x 1.5, Cl 8
5
BN300499
WASHER,M10, 10.9
20шт.
6
BN2290753
GROMMET
2870 (7/8" Hole)
2шт.
7
88902
NUT,3/8"-16
4шт.
8
BN320331
BRACKET
Mount, Battery
9
BN50141
WASHER
5/16, Fw, G5
10
91734C1
WET BATTERY
12V, 950CCA, Stud
11
BN2390287
BOLT
Battery 390-005
12
BN7140027
PAD
Battery Pad
13
BN55361
NUT,5/16"-18, Nylon, Stainless
Выбрано товаров: 0