Качественные детали и логистика
Оригинальные и аналоговые запчасти с доставкой по России, Казахстану и Беларуси
©2022 PartSell ООО "Система" ИНН 2463123282 ОГРН 1212400004838
Центральный офис: г. Красноярск, Академика Киренского, д.87, пом.4
Телефон: 8 (800) 777-65-74 Email: zakaz@partsell.ru
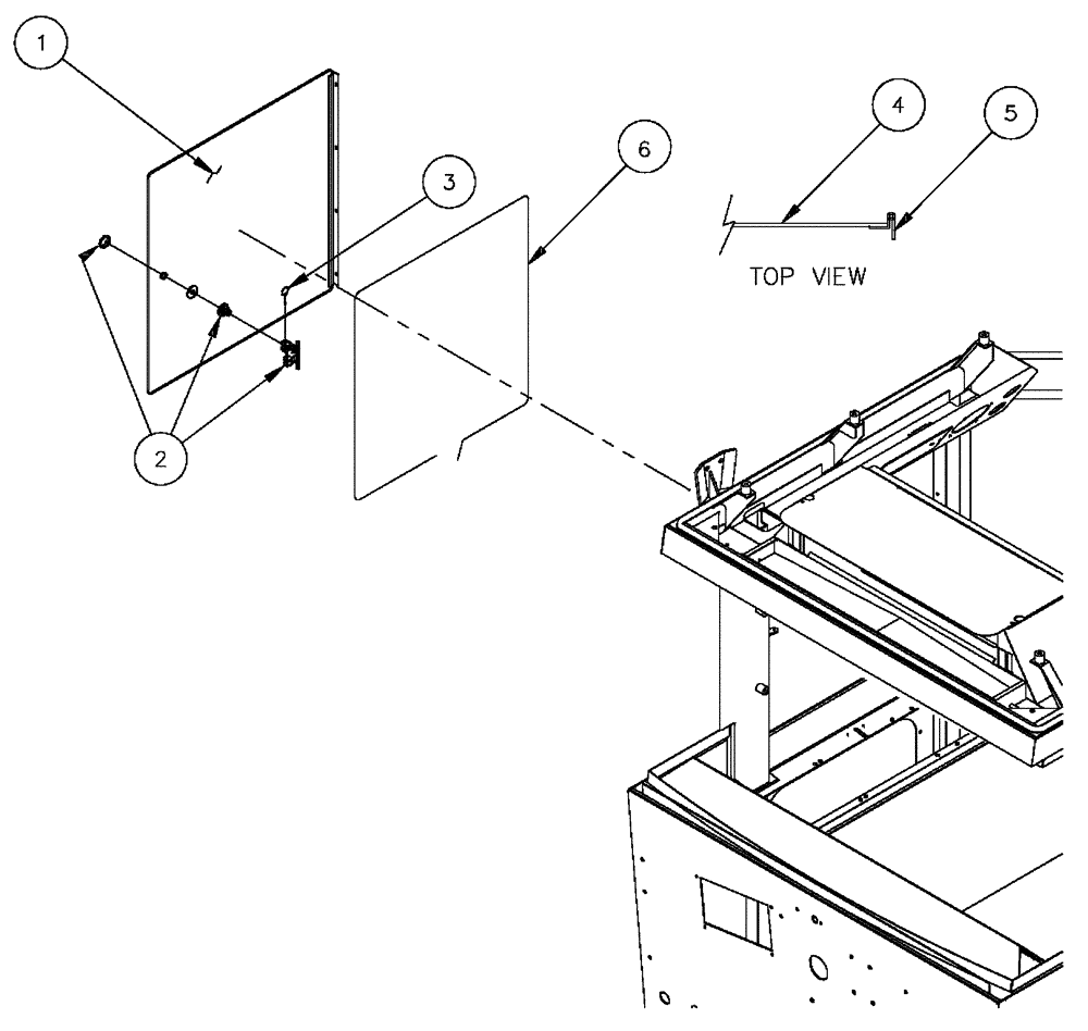
(01-021) - CAB EXTERIOR - SWING OUT WINDOW
№
Артикул
Название
Примечание
Количество
1
BN315640
WINDOW
Swing Out Assembly (Includes Ref. 2 Through 5)
1шт.
2
BN318021
LATCH
Overcenter
3a
BN2406306-017
ROLL PIN
3/16 X 1/2
3b
BN2406306-018
PIN
Detent, Ring .186 DIA.
4
BN314487
GLASS
RH Side
5
BN314488
HINGE
Window
6
BN315637
SEAL
Seal, Bulb, Window Titan
Выбрано товаров: 0