Качественные детали и логистика
Оригинальные и аналоговые запчасти с доставкой по России, Казахстану и Беларуси
©2022 PartSell ООО "Система" ИНН 2463123282 ОГРН 1212400004838
Центральный офис: г. Красноярск, Академика Киренского, д.87, пом.4
Телефон: 8 (800) 777-65-74 Email: zakaz@partsell.ru
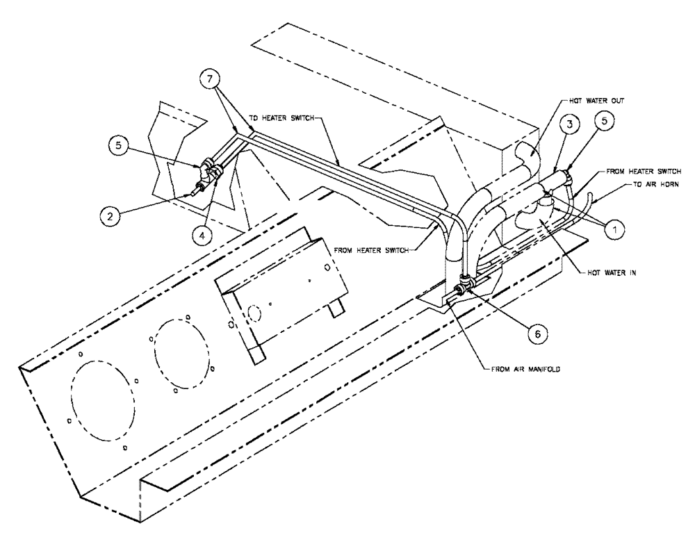
(01-012) - HEAT CIRCUIT COMPONENTS (FLX 4375, FLX 4330, FLX 4300)
№
Артикул
Название
Примечание
Количество
1
BN2296337
CLAMP
Hose H10 SS
2шт.
2
NSS
NOT SOLD SEPARAT
Switch, Air Toggle On-Off
1шт.
See Fig. 01-003
3
BN2395246
HYDRAULIC VALVE
Heater Control Air
4
BN2399402
ADAPTER
1/8" MPT x 1/4" OD Tube, Push Lock Fitting
5
BN2399405
90 ELBOW
6
BN2399408
UNION TEE
Tube UTC140
7
BN2292089
AIR INTAKE TUBE
Synflex, 1/4" Bulk
4шт.
Выбрано товаров: 0