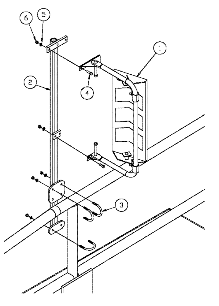
Запчасти Case IH FLX4330 (04-024) - MIRROR ASSEMBLY Frame & Suspension

Схема запчастей Case IH FLX4330 - (04-024) - MIRROR ASSEMBLY Frame & Suspension
3
2
5
4
1
6
FIT
1:1
100%

Артикул

Название

Примечание

Количество

1

BN2297334

KIT

Assy 9-1/4"

2шт.

2

BN7143178

BRACKET

Mirror

2шт.

3

BN2403315

U-BOLT

Round, 1/4"-20 x 1.93 x 2.31 SS

6шт.

4

BN50211

BOLT

1/4"-20 x .75, HH, G5

4шт.

5

87529236

WASHER,0.28" ID x 0.62" OD x 0.07" Thk

0.281 X 0.625 X 0.065 HTS DOR HDN

10шт.

6

BN2294431

SET SCREW,1/4" - 20

1/4-20, FLN, SS

10шт.

Выбрано товаров: 6