Запчасти Case IH FLX4330 (07-016) - RESUME AUTO ASSEMBLY Pneumatics

Схема запчастей Case IH FLX4330 - (07-016) - RESUME AUTO ASSEMBLY Pneumatics
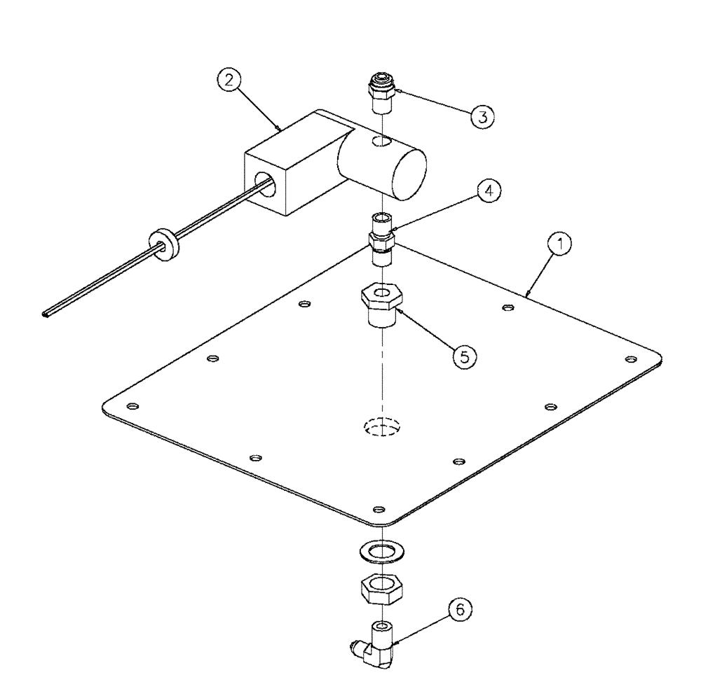
1
3
5
6
2
4
FIT
1:1
100%

Артикул

Название

Примечание

Количество

1

BN2298296

HYDRAULIC VALVE

Throttle WM786-B1

1шт.

2

BN2298283

SOLENOID VALVE

Solenoid

1шт.

3

BN2399401

ADAPTER

Male, 1/4" Tube

1шт.

4

BN2290506

FITTING

2103-4-4

1шт.

5

BN2399408

UNION TEE

Tube UTC140

1шт.

6

BN2290106

FITTING

0101-4-4

1шт.

Выбрано товаров: 6