Запчасти Case IH FLX4375 (02-030) - MUFFLER ASSY (ALL CAT ENGINES) (01) - ENGINE

Схема запчастей Case IH FLX4375 - (02-030) - MUFFLER ASSY (ALL CAT ENGINES) (01) - ENGINE
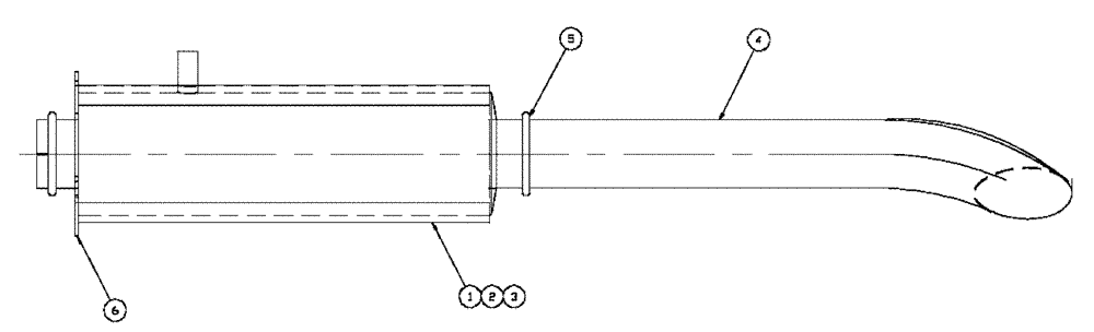
5
6
1
3
2
4
FIT
1:1
100%

Артикул

Название

Примечание

Количество

BN311344

MUFFLER

Assembly, 18-2450 CFM

1шт.

For FLX4300, FLX4330, FLX4375 W/Cat Engine

1шт.

1

BN313588

SHIELD

Heat, Muffler

1шт.

2

BN313589

BOLT

Heat Shield

6шт.

3

BN313590

CLAMP

Heat Shield

2шт.

4

BN313591

EXHAUST SYSTEM PIPE

Tail, Muffler

1шт.

5

BN313592

CLAMP

Bent Bolt, 5"

2шт.

6

BN313594

MUFFLER

18-2450 CFM

1шт.

Выбрано товаров: 8