Запчасти Case IH FLX4375 (02-033) - RADIATOR GROUP (FLX 4330 CAT 3208 ENGINE) (01) - ENGINE

Схема запчастей Case IH FLX4375 - (02-033) - RADIATOR GROUP (FLX 4330 CAT 3208 ENGINE) (01) - ENGINE
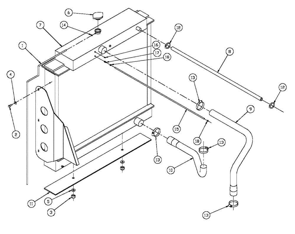
6
12
16
18
13
2
10
13
5
9
13
18
3
14
11
12
8
17
13
15
1
4
7
FIT
1:1
100%

Артикул

Название

Примечание

Количество

1

BN306821

HOSE,0.75" ID, Bulk

5шт.

2

628-8020

BOLT,Hex, M8 x 20, 10.9, Full Thd

6шт.

3

BN300410

BOLT

M16-2, FLN, 8.8

2шт.

4

86624185

WASHER,8.8mm ID x 17.5mm OD x 2mm Thk

6шт.

5

BN300492

WASHER

M16, FW, G5

2шт.

6

BN305358

CAP

Radiator 16# SAE SML

1шт.

7

BN305716

RADIATOR

41 X 33

1шт.

8

BN53508

HOSE,0.75"

3шт.

9

BN310492

RADIATOR HOSE,2.00" ID, 2.25" ID x 18.98"

Radiator, Upper, 3208

1шт.

10

BN310541

RADIATOR HOSE,2.00" ID, 2.25" ID x 21.79"

Inlet, 3208

1шт.

11

BN311804

PAD

Radiator, Neoprene

1шт.

12

BN75978

HOSE CLAMP

SS #12 ADJ HS .56 - 1.25

2шт.

13

BN76020

HOSE CLAMP

1 & 1/2 - 2 Hose SS

4шт.

14

BN76094

HOSE CLAMP

SS #M4

1шт.

15

BN2390873

HOSE,0.31" ID

Fuel, 815-25R

3шт.

16

BN1666253

PLUG

Pipe 1/4 Sq. Hd.

1шт.

17

BN2290646

FITTING

744440

1шт.

18

BN75906

CLAMP

hose, adj., 3/8 to 1/2, S

2шт.

Выбрано товаров: 18