Запчасти Case IH FLX4375 (02-014) - FUEL TANK & LINES GROUP (FLX 4375) (01) - ENGINE

Схема запчастей Case IH FLX4375 - (02-014) - FUEL TANK & LINES GROUP (FLX 4375) (01) - ENGINE
FIT
1:1
100%

Артикул

Название

Примечание

Количество

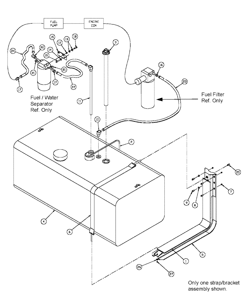
1

87484460

BELT,76.67 mm W x 6096.00 mm L

4 Ply, Cut To Fit

15шт.

2

BN2390873

HOSE,0.31" ID

Fuel, 815-25R

4шт.

3

BN306489

ASSEMBLY

Fuel Tube Typ, 20"

1шт.

4

BN307678

TANK

Fuel 150 Gal.

1шт.

BN2395003-003

CAP

Fuel, 878

1шт.

Service Parts For Ref. 4

1шт.

BN2395003-004

GASKET

For Fuel Cap

1шт.

Service Parts For Ref. 4

1шт.

5

87267439

BRACKET, SUPPORTING

Fuel Tank

3шт.

6

BN2395008-002

STRAP

Assembly, Fuel Tank

3шт.

7

BN300359

BOLT

M12-1.75, FLN, 8.8

12шт.

8

BN300500

WASHER,M12, 10.9

24шт.

9

86629541

BOLT,Hex, M12 x 1.75 x 40mm, Cl 8.8

12шт.

10

BN302496

FITTING

6MOR-8MP90

1шт.

11

BN7133010

TUBE

Fuel P/U

1шт.

12

BN300429

BOLT

M8-1.25, FLN, 8.8

2шт.

13

86624185

WASHER,8.8mm ID x 17.5mm OD x 2mm Thk

4шт.

14

BN300490

BOLT

M10, FW, G5

2шт.

15

BN301045

BOLT,Hex, M10 x 25, 10.9, Full Thd

2шт.

16

BN302646

FITTING

11/16-16 ORFS x 9/16-18 ORB

1шт.

17

BN302647

FITTING

6MOR - 8MB

2шт.

18

BN302737

BOLT

M8-1.25 X 40, HH, 10.9

2шт.

19

BN302812

BRACKET

Fuel/Water Sep.

1шт.

20

BN303940

FITTING

6MOR-8MB45

1шт.

21

BN446025

PLUG

Hex O-Ring 3/4-16

2шт.

22

BN303485

HOSE

6-100R1-6FORX-6FJX-123

1шт.

23

BN303486

HOSE

6-100R1-6FORX-6FORX-138

1шт.

24

BN303487

HOSE

6-100R1-6FORX-6FORX-54

1шт.

25

BN2395003-005

NUT

Fuel Tank Strap

3шт.

26

BN50155

WASHER,17.48mm ID x 44.45mm OD x 3.05mm Thk

5/8", G5

3шт.

27

BN300407

FLANGE NUT

Flg, 1/2"-13, G8

3шт.

Выбрано товаров: 31