Качественные детали и логистика
Оригинальные и аналоговые запчасти с доставкой по России, Казахстану и Беларуси
©2022 PartSell ООО "Система" ИНН 2463123282 ОГРН 1212400004838
Центральный офис: г. Красноярск, Академика Киренского, д.87, пом.4
Телефон: 8 (800) 777-65-74 Email: zakaz@partsell.ru
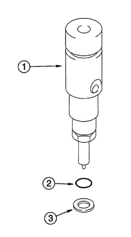
(02-064) - FUEL INJECTION NOZZLE
№
Артикул
Название
Примечание
Количество
0
J948529
INJECTOR ASSY.
Fuel
6шт.
JR948529
REMAN-FUEL INJECTOR
Remanufactured Injection Nozzle
JC948529
CORE-FUEL INJECTOR
Return Part Number, Injection Nozzle
1
NSS
NOT SOLD SEPARAT
Injector
1шт.
2
238-7210
O-RING,0.139" Thk x 0.734" ID, -210, Cl 7, 75 Duro
3
J937142
SEAL,7mm ID x 15mm OD x 1.5mm Thk
Injector Nozzle, 7 MM Injector Tip
Выбрано товаров: 0