Качественные детали и логистика
Оригинальные и аналоговые запчасти с доставкой по России, Казахстану и Беларуси
©2022 PartSell ООО "Система" ИНН 2463123282 ОГРН 1212400004838
Центральный офис: г. Красноярск, Академика Киренского, д.87, пом.4
Телефон: 8 (800) 777-65-74 Email: zakaz@partsell.ru
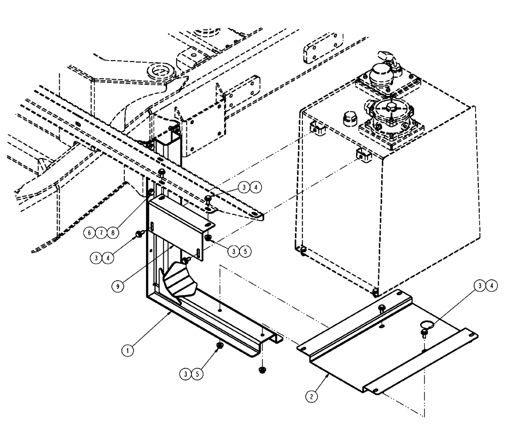
(06-002) - MOUNT GROUP, HYDRAULIC OIL TANK
№
Артикул
Название
Примечание
Количество
1
344099A1
BRACKET
hydraulic tank
1шт.
2
87265292
MOUNT
Hydraulic Tank
3
86639325
WASHER,10.8mm ID x 24.5mm OD x 3mm Thk
10шт.
4
11106231
BOLT,Hex, M10 x 1.5 x 25mm, Cl 10.9
6шт.
5
100037
LOCK NUT,M10 x 1.5, Cl 8
4шт.
6
86625255
WASHER,13.3mm ID x 24.5mm OD x 3mm Thk
8шт.
7
86629541
BOLT,Hex, M12 x 1.75 x 40mm, Cl 8.8
8
100038
NUT,M12 x 1.75, Cl 8
9
87267218
Hydraulic Oil Tank
Выбрано товаров: 0