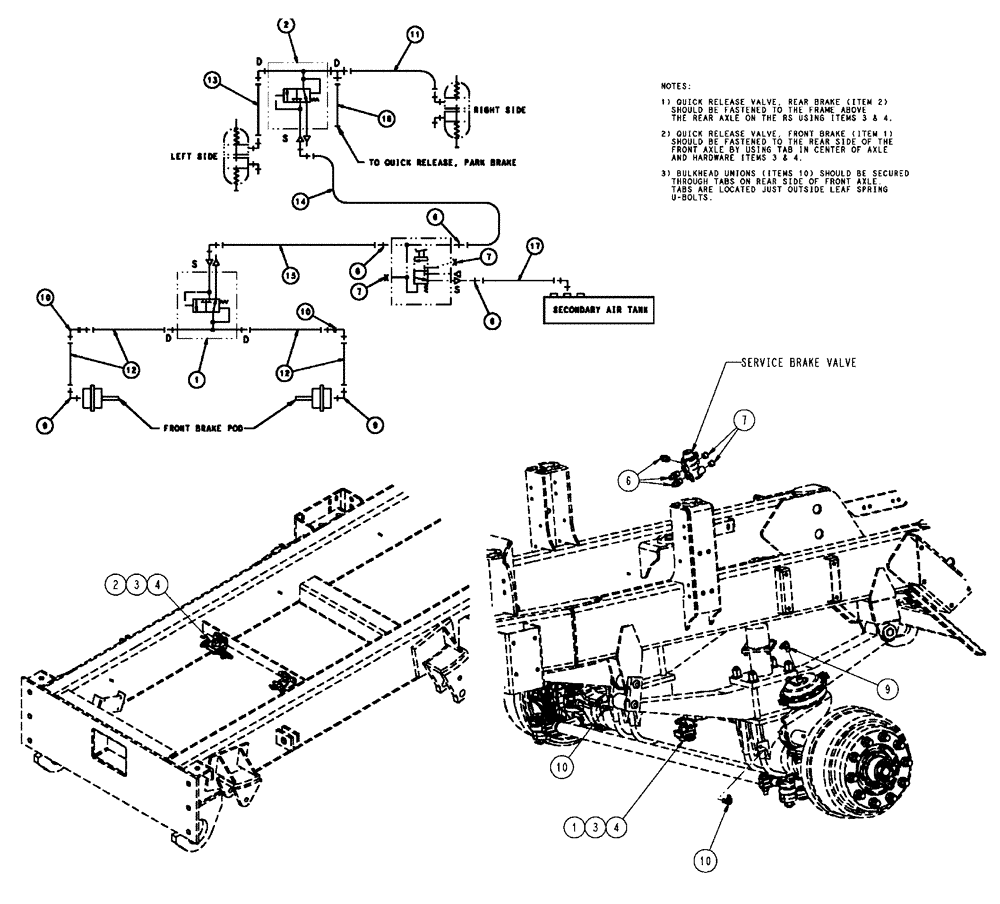
Запчасти Case IH FLX4510 (07-002) - SERVICE BRAKE GROUP Pneumatics

Схема запчастей Case IH FLX4510 - (07-002) - SERVICE BRAKE GROUP Pneumatics
3
4
9
4
6
13
10
7
1
9
1
12
10
3
7
2
2
6
12
6
17
9
10
7
4
11
16
15
10
14
FIT
1:1
100%

Артикул

Название

Примечание

Количество

1

NSS

NOT SOLD SEPARAT

Quick Release, Front Brake

1шт.

See Fig. 07-004

1шт.

2

NSS

NOT SOLD SEPARAT

Quick Release, Rear Brake

1шт.

See Fig. 07-006

1шт.

3

43127

BOLT,Hex, M8 x 1.25 x 25mm, Cl 8.8

4шт.

4

86528579

NUT,M8 x 1.25

4шт.

6

218-456

HYD CONNECTOR,3/4" - 16 Male JIC x 1/2" - 14 Male NPTF

3шт.

7

444704

PLUG,Hex Soc, 1/2"-14

2шт.

9

BN2290528

FITTING

2103-6-6

2шт.

10

BN2390661

FITTING

2353-6-6

2шт.

11

87266800

HOSE

6 x 39"

1шт.

12

87266801

HOSE

6 x 22"

4шт.

13

342926A1

HOSE

6 x 35"

1шт.

14

BN316546

HOSE

Assembly, 8 X 204"

1шт.

15

87267667

HOSE

8 x 70"

1шт.

16

342924A1

HOSE

6 x 21"

1шт.

17

87266804

HOSE

8 x 77"

1шт.

Выбрано товаров: 17