Запчасти Case IH FLX4510 (07-007) - FITTING GROUP, AIR TANKS Pneumatics

Схема запчастей Case IH FLX4510 - (07-007) - FITTING GROUP, AIR TANKS Pneumatics
2
4
3
1
8
7
5
4
1
6
14
9
4
10
5
12
2
4
13
13
6
7
3
11
1
1
12
1
4
4
8
1
11
1
14
4
FIT
1:1
100%

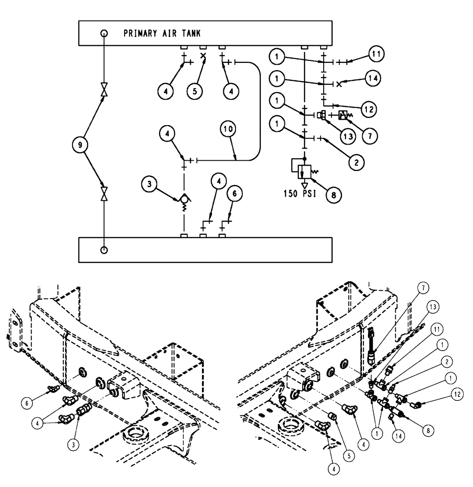
Артикул

Название

Примечание

Количество

1

BN2295095

TEE

012T-4-4

4шт.

2

261768

HYD CONNECTOR,7/16" - 20 JIC x 1/4" - 18 NPT

1шт.

3

BN2295247

CHECK VALVE

Air #5003980

1шт.

4

76352

90 ELBOW,3/4" - 16 JIC x 1/2" - 14 NPTF

4шт.

5

217-517

DRAIN PLUG,Sq Hd, 1/2"-14 NPTF

1шт.

6

218-491

ELBOW,90 Degree Elbow, 7/16" - 20 Male JIC x 1/4" - 18 Male NPTF

1шт.

7

87266928

PRESSURE SWITCH

60 psi N/O

1шт.

8

BN2290667

HYDRAULIC VALVE

Safety 205105

1шт.

9

86625234

DRAINCOCK/TAP SUPPLY,1/4" NPTF

Valve, 1/4" Weatherhead

2шт.

10

87267667

HOSE

8 x 70"

1шт.

11

BN2399403

ADAPTER

1/4" MPT x 3/8" OD Tube, Push Lock Fitting

1шт.

12

BN2399411

ADAPTER

Elbow, 1/4" MPT x 3/8" OD Tube, Push Lock Fitting

1шт.

13

BN2290291

BUSHING

0102-4-2

1шт.

14

9617020

PLUG,1/4" - 18 x 0.48"

1шт.

Выбрано товаров: 14