Запчасти Case IH TITAN 3520 (02-009) - AIR COMPRESSOR ASSEMBLY (01) - ENGINE

Схема запчастей Case IH TITAN 3520 - (02-009) - AIR COMPRESSOR ASSEMBLY (01) - ENGINE
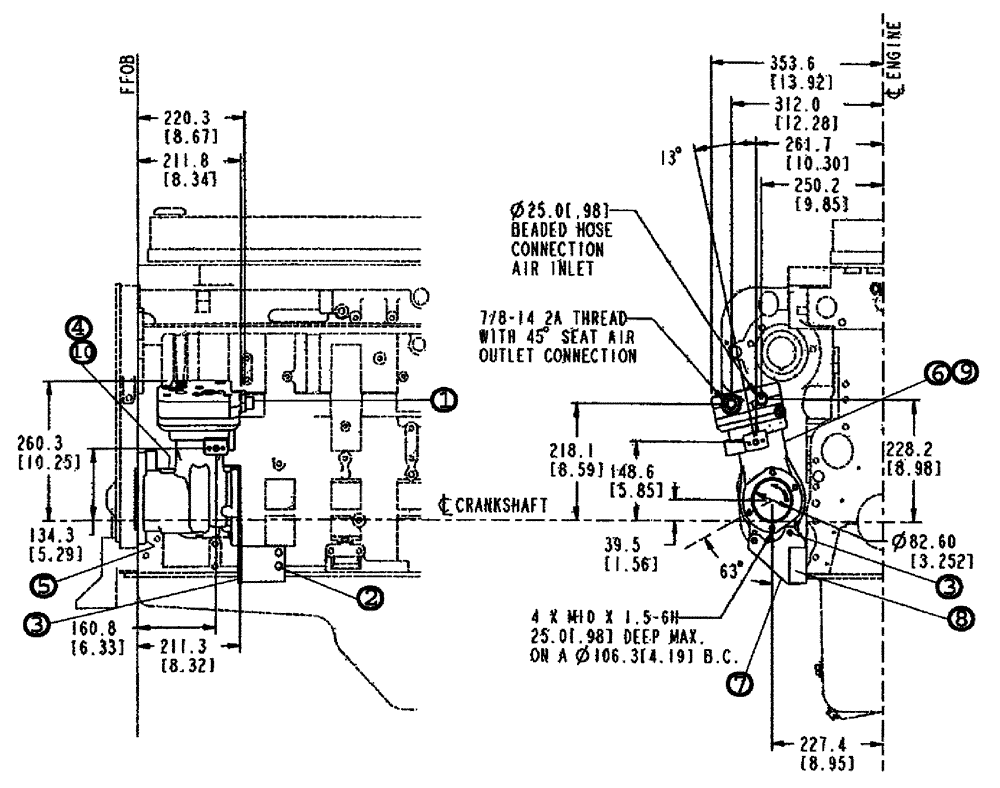
3
10
9
8
6
1
5
3
4
2
7
FIT
1:1
100%

Артикул

Название

Примечание

Количество

1

J680997

UNION

MALE

1шт.

2

J900634

FLANGE BOLT,Hvy Hex, M10 x 50mm, Cl 10.9

2шт.

3

854-10030

BOLT,Hvy Hex, M10 x 30mm, Cl 10.9

4шт.

4

J906747

HOSE,6.35mm ID x 508mm L

Flexible

1шт.

5

J920447

FLANGE BOLT,M12 x 40mm, Cl 10.9

Flange, M12 x 40, 10.9

2шт.

6

J940245

GASKET,1.27mm Thk

hydraulic pump

1шт.

7

J942911

BRACKET

AIR COMPRESSOR, BRACE

1шт.

8

J944000

SPACER

MOUNTING

1шт.

9

84157546

AIR COMPRESSOR

18.7 CFM

1шт.

10

J945212

ELBOW

plain union

2шт.

Выбрано товаров: 0