Качественные детали и логистика
Оригинальные и аналоговые запчасти с доставкой по России, Казахстану и Беларуси
©2022 PartSell ООО "Система" ИНН 2463123282 ОГРН 1212400004838
Центральный офис: г. Красноярск, Академика Киренского, д.87, пом.4
Телефон: 8 (800) 777-65-74 Email: zakaz@partsell.ru
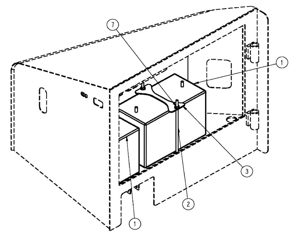
(02-024) - BATTERY GROUP
№
Артикул
Название
Примечание
Количество
1
91734C1
WET BATTERY
12V, 950CCA, Stud
2шт.
2
87691876
ROD
Battery Hold Down
4шт.
3
BN320331
BRACKET
Mount, Battery
7
BN50057
LOCK NUT,Lock, 5/16"-18, Stainless Steel
Выбрано товаров: 0